
参考资料
文件:16Q1、16Q2、16Q1L、16Q2L集中电源集中控制型消防应急照明灯具说明书A4 1721961950608.pdf
一、灯具特点及注意事项
本灯具设计满足GB 17945-2010《消防应急照明和疏散指示系统》要求。本灯具为专用灯具,采用低电压供电,严禁接入AC220V/DC216V强电,接入强电将造成灯具损毁。
J-ZFJC-E8W-16Q2、J-ZFJC-E12W-16Q1L灯具采用微波雷达模块作为感应探测传感器,微波雷达模块具有体积小、灵敏度高、不受温度影响等特点。灯具微波雷达模块设计位于灯具中心,无金属遮挡情况下在灯具5±1m的范围内有移动物体时灯具正常点亮。
二、技术参数及灯具尺寸
额定电压: DC36V 工作方式: 非持续型
主电功耗: 8W/12W 亮 度: ≥50lm
光源类型: LED 安装方式: 嵌顶
防护等级: IP30 灯具应急时间: 90min
光源参数: DC3.0V,0.2W
灯具外形和尺寸:
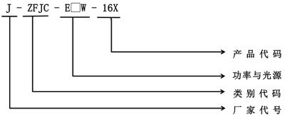
三、型号说明
四、工作原理
五、使用说明
1.该灯具受应急照明集中控制系统控制,灯具可接收由系统发来的指令改变灯具的工作状态,同时系统可对灯具的各种状态进行监视。
2.本系列应急灯具必须和我公司配套的消防应急专用电源配合使用;不可独立使用。
六、灯具地址
1.出厂地址:我司灯具出厂前已写入出厂地址,地址码见灯具二维码标签 (8位)。
2.编码地址:需现场编程。使用编码器编入1-999(详细操作请参考附页编码器说明书)。
按实际需求记录出厂地址或编码地址,并记录在施工图纸所对应的指定位置,并将整理好的施工图纸妥善存档,用于后期的系统调试
注: 1.禁止安装未记录地址码的灯具;
2.灯具的编码器操作需要与我司配套产品使用;
3.使用编码器编址时,同一电源下,灯具编址不可重复。
七、接线及安装说明
将灯具两个电源线分别接入智能疏散专用两线系统,确保线路连接牢固工整接线示意如下:
安装方法:
在图纸设计位置,按照图示建议开孔尺寸开孔,按照上图接线方法接线,将两弹簧卡扳向灯具尾部出线方向,将灯具尾部塞入安装孔,确保灯具牢固美观。
八、维修保养和排故
本产品为消防产品,应由受过培训的专业人员进行安装、调试和维修;灯具应安装或贮存于通风、干燥、无腐蚀环境的地方,以免内部元器件受潮。应尽量避免灯具受到摩擦、敲击和冲击,以防止外壳产生变形、破损等损坏现象。
九、常见故障及处理方法
| 故障现象 | 原因分析 | 排除方法 |
|---|---|---|
| 单台灯具通讯 故障 | 1、供电电源原因 2、ID号错误 |
1、检查灯具是否正常点亮,测量接线处电压 是否正常; 2、检查系统中录入的ID号码是否正确。 |
| 光源的更换方 法 | 光源故障或损坏 | 联系专业维修工作人员进行更换 |
十、安全使用注意事项
1、使用前,请您务必详细阅读此说明书,方可接通电源;
2、本产品必须由具有专业资格的人员进行安装、调试和维修作业。保内保外维修,均可以联系我公司售后服务部门,用户不要自行拆开或维修,以防发生意外;
3、安装设备前,请务必切断回路电源,电线接头需做防水、绝缘处理;
4、本系列消防应急灯具为IP30消防应急照明灯具,请按照实际使用环境选择相匹配IP防护等级的产品;安装环境不匹配易导致的产品性能出现质量问题;
5、本产品需要配合防爆管等相关配件(用户自备)使用;
6、如果您对安装或使用还有疑问,请向销售商咨询。