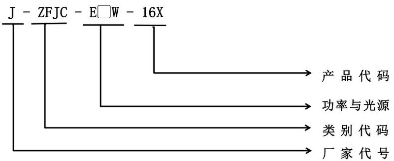
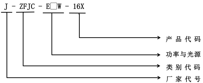
文件:J-ZFJC-E36W-16Z2 T8条管灯 型号.jpg
本预览的尺寸:800 × 327像素。 其他分辨率:843 × 345像素。
原始文件 (843 × 345像素,文件大小:26 KB,MIME类型:image/jpeg)
文件历史
点击某个日期/时间查看对应时刻的文件。
| 日期/时间 | 缩略图 | 大小 | 用户 | 备注 | |
|---|---|---|---|---|---|
| 当前 | 2025年10月11日 (六) 09:04 | 843 × 345(26 KB) | 焦雨桐(留言 | 贡献) | 使用SimpleBatchUpload上传 |
您不可以覆盖此文件。
文件用途
以下2个页面使用本文件: