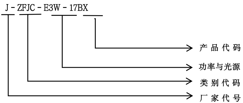
文件:J-ZFJC-E5W-17B3A 集电壁挂IP67双头照明灯 型号组成.jpg
本预览的尺寸:800 × 342像素。 其他分辨率:822 × 351像素。
原始文件 (822 × 351像素,文件大小:27 KB,MIME类型:image/jpeg)
文件历史
点击某个日期/时间查看对应时刻的文件。
| 日期/时间 | 缩略图 | 大小 | 用户 | 备注 | |
|---|---|---|---|---|---|
| 当前 | 2025年8月28日 (四) 14:32 | 822 × 351(27 KB) | 焦雨桐(留言 | 贡献) | 使用SimpleBatchUpload上传 |
您不可以覆盖此文件。