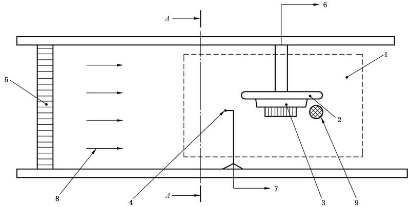
文件:电化学储能电站火灾监测预警 系统通用技术要求 GBT+46261-2025 图F-1.jpg
本预览的尺寸:800 × 405像素。 其他分辨率:1,108 × 561像素。
原始文件 (1,108 × 561像素,文件大小:45 KB,MIME类型:image/jpeg)
文件历史
点击某个日期/时间查看对应时刻的文件。
| 日期/时间 | 缩略图 | 大小 | 用户 | 备注 | |
|---|---|---|---|---|---|
| 当前 | 2026年2月25日 (三) 09:11 | 1,108 × 561(45 KB) | 焦雨桐(留言 | 贡献) | 使用SimpleBatchUpload上传 |
您不可以覆盖此文件。
文件用途
以下页面使用本文件: