电化学储能电站火灾监测预警 系统通用技术要求 GBT+46261-2025

来自青鸟百科

引用资料

文件:电化学储能电站火灾监测预警 系统通用技术要求 GBT+46261-2025.pdf


标准状态


当前标准:GBT+46261-2025

发布日期:2025-08-29

实施日期:2026-09-01

1 范围

本文件界定了电化学储能电站火灾监测预警系统的术语,规定了分类、要求、检验规则和标志,描述了相应的试验方法。

本文件适用于电化学储能电站和储能装置中安装使用的火灾监测预警系统(以下简称“系统”)各类设备的设计、制造和检验。

2 规范性引用文件

下列文件中的内容通过文中的规范性引用而构成本文件必不可少的条款。其中,注日期的引用文件,仅该日期对应的版本适用于本文件;不注日期的引用文件,其最新版本(包括所有的修改单)适用于本文件。

GB/T4208—2017 外壳防护等级(IP代码)

GB4717—2024 火灾报警控制器

GB/T5907.5 消防词汇 第5部分:消防产品

GB/T9969 工业产品使用说明书 总则

GB12978 消防电子产品检验规则

GB/T16838 消防电子产品环境试验方法及严酷等级

GB/T17626.2 电磁兼容 试验和测量技术 静电放电抗扰度试验

GB/T17626.3 电磁兼容 试验和测量技术 第3部分:射频电磁场辐射抗扰度试验

GB/T 17626.4 电磁兼容 试验和测量技术 电快速瞬变脉冲群抗扰度试验

GB/T17626.5 电磁兼容 试验和测量技术 浪涌(冲击)抗扰度试验

GB/T17626.6 电磁兼容 试验和测量技术 射频场感应的传导骚扰抗扰度

GB/T17626.11 电磁兼容 试验和测量技术 第11部分:对每相输入电流小于或等于16A设备的电压暂降、短时中断和电压变化抗扰度试验

GB22134 火灾自动报警系统组件兼容性要求

3 术语和定义

GB/T5907.5界定的以及下列术语和定义适用于本文件。

3.1 电化学储能电站火灾监测预警系统 fire monitoring and warning systems for electrochemical energy storage stations

用于电化学储能电站火灾监测预警、设备联动控制的系统。

注:系统设备包括电化学储能电站火灾报警控制装置、各类电化学储能电站火灾监测报警装置、火灾探测器及其他火灾报警触发器件、可燃气体探测器、手动火灾报警按钮、模块、火灾声光警报器、气体释放警报器等。系统组成及系统设备见附录A。

3.2

电化学储能电站火灾报警控制装置 fire alarm control units for electrochemical energy storage stations

安装在电化学储能电站中,能够接收电化学储能电站火灾监测报警装置及其他报警触发器件发出的热失控预警信号、热失控火灾监测报警信号和故障信号,并完成状态显示和联动控制功能的装置。

3.3

电化学储能电站火灾监测报警装置 fire detectors for electrochemical energy storage stations

安装在电化学储能电站中,使用一种或多种传感器持续监测电池单体、电池模块、电池包等发生热失控初期多种物理和/或化学现象,并向控制装置输出热失控预警或热失控火灾监测报警信号的装置。

4 型号与分类

4.1 型号

电化学储能电站火灾报警控制装置(以下简称为“控制装置”)和电化学储能电站火灾监测报警装置(以下简称为“监测报警装置”)的型号编制方法应满足附录B的要求。

4.2 控制装置分类

按应用方式分为:

I型:独立式监测报警控制装置;

——Ⅱ型:独立型控制装置;

-Ⅲ型:区域型控制装置;

——IV型:集中型控制装置;

——V型:集中区域兼容型控制装置。

4.3 监测报警装置分类

4.3.1 按传感器类型分为:

—YJA型:电化学储能电站气体监测预警装置;

——JCA型:电化学储能电站一氧化碳和感烟感温复合火灾监测报警装置;

——JCB型:电化学储能电站氢气和感烟感温复合火灾监测报警装置;

——JCC型:电化学储能电站氢气、一氧化碳和感烟感温复合火灾监测报警装置;

——JCD型:电化学储能电站二氧化碳和感烟感温复合火灾监测报警装置;

——JCE型:电化学储能电站氢气、二氧化碳和感烟感温复合火灾监测报警装置;

——JCF型:电化学储能电站吸气式一氧化碳和感烟复合气体监测报警装置;

——JCG型:电化学储能电站吸气式氢气、一氧化碳和感烟复合气体监测报警装置;

——JCH型:电化学储能电站吸气式二氧化碳和感烟复合气体监测报警装置;

—JCI型:电化学储能电站吸气式氢气、二氧化碳和感烟复合气体监测报警装置。

4.3.2 按适用的电化学储能电站分为:

——风冷型:适用于风冷电化学储能电站的监测报警装置;

液冷型:适用于液冷电化学储能电站的监测报警装置。

4.3.3 按适用环境分为:

——普通型:适用于环境温度在 -10°C ~ 55°C 的电化学储能电站;

——特种型:适用于环境温度在 -40°C ~ 70°C 的电化学储能电站。

4.3.4 按工作方式分为:

——吸气式:具有通过管路吸气采样功能的监测报警装置;

非吸气式:不具有管路吸气采样功能的监测报警装置。

5 要求

5.1 系统要求

5.1.1 系统内其他产品,应采用符合相关标准的定型产品。

5.1.2 控制装置配接其他生产企业监测报警装置或火灾自动报警系统组件时,其兼容性应符合附录C的要求。

5.2 外观要求

控制装置、监测报警装置表面应有产品标志。控制装置、监测报警装置表面应无腐蚀、涂覆层脱落和起泡现象,无明显划伤、裂痕、毛刺等机械损伤,紧固部位无松动。

5.3 控制装置

5.3.1 主要部(器)件性能

5.3.1.1 通用要求

5.3.1.1.1 控制装置的主要部(器)件,应采用符合相关国家标准的定型产品。

5.3.1.1.2 控制装置主电源应采用 [math]\displaystyle{ 220\mathrm{V}, 50\mathrm{Hz} }[/math] 交流电源或 [math]\displaystyle{ 24\mathrm{V} }[/math] 直流电源,电源线输入端应设接线端子。

5.3.1.1.3 控制装置应设有保护接地端子。

5.3.1.1.4 控制装置应能为其连接的部件供电,供电电压可优先采用直流 [math]\displaystyle{ 24\mathrm{V} }[/math]

5.3.1.1.5 控制装置的外壳防护等级(IP代码)不应低于GB/T4208—2017中IP30的要求。

5.3.1.1.6 控制装置外壳为非金属材料时,应满足附录D规定的燃烧性能要求。

5.3.1.1.7 控制装置应有独立的信息上传接口,信息上传应有加密措施。

5.3.1.1.8 控制装置应有各类信息计时装置,计时装置的日计时误差不应超过 [math]\displaystyle{ 1\mathrm{s} }[/math],使用打印机记录报警时间时,应打印出年、月、日、时、分、秒等信息,但不能仅使用打印机记录报警时间。

5.3.1.1.9 控制装置应具有火灾报警和气体报警历史信息记录功能,火灾报警和气体报警历史信息应分别记录,每种信息应能至少记录9999条相关信息,且信息在控制装置断电后能保持。

5.3.1.1.10 通过控制装置可改变与其连接的监测报警装置烟雾响应阈值,该响应阈值应能在控制装置上手动查询。

5.3.1.1.11 控制装置应设置独立的信息确认按钮(键)。控制装置应能通过操作信息确认按钮(键)逐条确认接收到的火灾报警、气体报警和故障报警等信息,并对已确认的信息进行标识。

5.3.1.1.12 控制装置应设手动复位按钮(键),复位后,仍然存在的状态及相关信息应保持或在 [math]\displaystyle{ 20\mathrm{~s} }[/math] 内重新建立。

5.3.1.1.13 除复位操作外,对控制装置的任何操作均不应影响控制装置接收和发出火灾报警、气体报警信号。

5.3.1.1.14 当系统内设有具有压力监测性能的监测报警装置时,控制装置应设有压力报警状态指示灯(器)。

5.3.1.2 指示灯(器)

5.3.1.2.1 指示灯功能应有中文标注,并应以颜色标识,红色指示火灾报警、气体报警、压力报警、监管报警、反馈、启动和启动延时等;黄色指示故障报警、消音等;绿色指示主电源和备用电源正常工作状态、手动工作状态、自动工作状态和停止工作状态等。

5.3.1.2.2 在光照度为 [math]\displaystyle{ 100\mathrm{lx}\sim 500\mathrm{lx} }[/math] 的环境条件下,手动状态指示灯和自动状态指示灯应在 [math]\displaystyle{ 0.8\mathrm{m} }[/math] 处清晰可见,其他指示灯应在 [math]\displaystyle{ 3\mathrm{m} }[/math] 处清晰可见。

5.3.1.3 字母(符)一数字显示器

在光照度为 [math]\displaystyle{ 100\mathrm{lx}\sim 500\mathrm{lx} }[/math] 的环境条件下,字母(符)一数字显示器,显示字母(符)应在其正前方 [math]\displaystyle{ 0.8\mathrm{m} }[/math] 处可读。

5.3.1.4 音响器件

5.3.1.4.1 音响器件与电路板的电气连接应采用防松脱结构,在 [math]\displaystyle{ 50\mathrm{N} }[/math] 拉力下不应损伤和脱落;拆卸音响器件应采用专用工具。

5.3.1.4.2 控制装置在正常工作条件,环境声压级(A计权)不大于 [math]\displaystyle{ 50\mathrm{dB} }[/math] 的条件下,除按键提示音以外的音响器件,在其正前方 [math]\displaystyle{ 1\mathrm{m} }[/math] 处火灾报警、气体报警、监管报警和故障报警声信号的声压级(A计权)不应小于 [math]\displaystyle{ 65\mathrm{dB} }[/math],且不大于 [math]\displaystyle{ 105\mathrm{dB} }[/math]

5.3.1.4.3 控制装置在额定工作电压的 [math]\displaystyle{ 85\% }[/math] 条件下,其音响器件应能正常工作。

5.3.1.5 过负荷保护器件

5.3.1.5.1 控制装置应在说明书中说明额定工作电流,过负荷保护器件的保护设定电流值不应大于其额定工作电流的2倍;当额定工作电流大于6A时,过负荷保护器件的保护设定电流值不应大于其额定工作电流的1.5倍。

5.3.1.5.2 在靠近过负荷保护器件处应施加清晰、耐久的参数值标识;直流和交流过负荷保护器件应分别标识(直流DC、交流AC),标识字体高度不应小于 [math]\displaystyle{ 1.5\mathrm{mm} }[/math],且清晰可见。

5.3.1.6 接线端子

5.3.1.6.1 接线端子上应清晰、牢固地标注编号或符号,相应用途应在有关文件中说明。电源线输入端应设独立的接线端子,接线端子应设有防止人手触及的保护措施。

5.3.1.6.2 保护接地端子应设置明显的标识。接地端子应设置在邻近电源接线端子,且容易接线的部位,接地端子不应兼作他用。

5.3.1.7 备用电源及蓄电池

5.3.1.7.1 蓄电池应固定安装,并具有防止电池端子间及电池端子与金属部件接触的措施。

5.3.1.7.2 电源正极连接导线应为红色,负极应为黑色。

5.3.1.7.3 控制装置的备用电源应采用阀控密封式铅酸蓄电池或磷酸铁锂蓄电池。

5.3.1.7.4 控制装置应能显示备用电源的电压和电量。当控制装置串接电池组额定电压大于或等于 [math]\displaystyle{ 12\mathrm{V} }[/math] 时,控制装置应对电池(组)分段保护并显示每段电池(组)的电压,每段电池(组)额定电压不应大于 [math]\displaystyle{ 13\mathrm{V} }[/math],且在电池(组)充满电时,每段电池(组)电压均不应小于额定电压。当任一段电池电压小于额定电压的 [math]\displaystyle{ 90\% }[/math] 时,控制装置应发出故障报警声、光信号并指示相应的部位。

5.3.1.8 开关和按键

开关和按键应在其上或靠近的位置清楚地标注出其功能。操作按键时,应发出提示音。

5.3.1.9 运行数据存储单元

控制装置的运行数据存储单元应为独立可拆卸结构,采用金属外壳,外壳防护等级(IP代码)不应低于GB/T4208—2017中IP54的要求,功能应满足附录E的要求。

5.3.2 操作级别

控制装置的操作级别应符合表1要求,进入Ⅱ级、Ⅲ级操作功能状态应采用钥匙、操作号码,用于进入Ⅲ级操作功能状态的钥匙或操作号码可用于进入Ⅱ级操作功能状态,但用于进入Ⅱ级操作功能状态的钥匙或操作号码不能用于进入Ⅲ级操作功能状态;Ⅳ级操作项目不能通过控制装置本身进行。

表 1 控制装置操作级别划分表
序号 操作项目 I II III IV
1 查询信息 O M M -
2 消除控制装置的声信号 O M M -
3 信息确认 O M M -
4 联动启动 O M M -
5 复位 P M M -
6 手动直接启动控制输出 P M M -
7 进入自检状态 P M M -
8 调整计时装置 P M M -
9 接通、断开或调整控制装置主、备电源 P M M -
10 手/自动转换 P M M -
11 输入或更改数据 P P M -
12 逻辑编程 P P M -
13 延时功能设置 P P M -
14 修改或改变软、硬件 P P P M
15 数据导出和回放 P P P M
注1: I级、II级、III级、IV级操作级别,根据序号等级从低到高,I级为最低等级,VI级为最高等级。注2:P-禁止;O-选择;M-本级人员操作。

5.3.3 气体监测预警功能

5.3.3.1 控制装置应能直接或间接地接收来自监测报警装置及其他气体探测器的气体报警信号,发出气体报警声、光信号,指示气体报警部位,显示并记录气体报警时间,并予以保持,直至手动复位。

5.3.3.2 当有气体报警信号输入时,控制装置应在 [math]\displaystyle{ 5\mathrm{s} }[/math] 内发出气体报警声、光信号,并明确指示该报警的气体类型和低限报警、高限报警。

5.3.3.3 控制装置应有专用气体报警总指示灯(器)。控制装置处于气体报警状态时, 总指示灯 (器) 应点亮。

5.3.3.4 气体报警声信号应能手动消除,消声后,应点亮消音指示灯;有新的气体报警信号输入时,声警报信号应能重新启动,并熄灭消音指示灯。

5.3.3.5 控制装置应在显示器上显示气体报警信息,并满足下列要求。

a)应能显示当前气体报警部位的总数。

b)应能采用下述方法之一显示最先报警部位:

1)用专用显示器持续显示;

2)如未设专用显示器,在共用显示器的顶部持续显示。

c)后续报警部位应按报警时间顺序连续显示。当显示区域不足以显示全部气体报警部位时,应按顺序循环显示,首报警信息不参与循环显示;同时应设手动查询功能,每手动查询一次,只能查询一个气体报警部位及相关信息。

5.3.4 火灾监测报警功能

5.3.4.1 控制装置应能直接或间接地接收来自监测报警装置及其他火灾报警触发器件的火灾报警信号,发出火灾报警声、光信号,指示火灾发生部位,显示并记录火灾报警时间,并予以保持,直至手动复位。

5.3.4.2 当有火灾报警信号输入时,控制装置应在 [math]\displaystyle{ 5\mathrm{s} }[/math] 内发出火灾报警声、光信号,并明确指示该火灾报警类型。

5.3.4.3 当有手动火灾报警按钮报警信号输入时,控制装置应在 [math]\displaystyle{ 3\mathrm{s} }[/math] 内发出火灾报警声、光信号,并明确指示该报警是手动火灾报警按钮报警。

5.3.4.4 控制装置应有专用火灾报警总指示灯(器)。控制装置处于火灾报警状态时,该总指示灯(器)应点亮。

5.3.4.5 控制装置应能手动消除火灾报警声信号,消声后,应点亮消音指示灯;有新的火灾报警信号输入时,声警报信号应能重新启动,并熄灭消音指示灯。

5.3.4.6 控制装置应在显示器上显示火灾报警信息,并满足下列要求。

a)应能显示当前火灾报警部位的总数。

b)应能采用下述方法之一显示首火警部位:

1)用专用显示器持续显示;

2)如未设专用显示器,在共用显示器的顶部持续显示。

c)后续火灾报警部位应按报警时间顺序连续显示。当显示区域不足以显示全部火灾报警部位时,应按顺序循环显示,首火警信息不参与循环显示;同时应设手动查询功能,每手动查询一次,只能查询一个火灾报警部位及相关信息。

5.3.5 控制功能

5.3.5.1 控制装置在火灾报警状态下和/或气体报警状态下应有火灾声光警报器控制输出。

5.3.5.2 控制装置应有手动和自动控制功能,并设置手动控制状态指示灯和自动控制状态指示灯。手动、自动控制状态转换应采用自复位钥匙开关操作。

5.3.5.3 控制装置应设置独立的联动启动控制按钮(键)。联动启动控制按钮(键)应采用直径不小于 [math]\displaystyle{ 12 \mathrm{~mm} }[/math] 的圆形红色按钮(键), 并具有防止误操作的措施, 且不应采用密码保护的方式。当控制装置处于手动控制状态时, 手动操作联动启动控制按钮(键), 应能启动满足设定控制逻辑的联动控制信号。

5.3.5.4 控制装置应设置不少于2点的控制输出,用于储能电站相关设备的控制,并满足下列要求。

a)每组控制开关应对应一个直接控制输出,并设置一个带灯启动按键、一个带灯停止按键、一个启动/反馈指示灯和一个故障指示灯,最小按键的尺寸不应小于 [math]\displaystyle{ 12\mathrm{mm}\times 12\mathrm{mm} }[/math],或直径不应小于 [math]\displaystyle{ 12\mathrm{mm} }[/math],按键间的最小间隔不应小于 [math]\displaystyle{ 10\mathrm{mm} }[/math];每组控制开关应采用图1或图2的设置方式。

b)启动按键指示灯应以闪亮方式指示输出请求,常亮方式指示输出启动;停止按键指示灯应以常亮方式指示输出停止;启动/反馈指示灯应以闪亮方式指示输出启动,常亮方式指示收到受控设备的反馈信号;故障指示灯应以常亮方式指示受控设备的故障。

c)当控制装置处于手动控制状态时,满足输出控制逻辑的控制开关应使对应的启动按键指示灯闪亮。操作启动按键应能启动控制输出,并使启动按键指示灯常亮,启动/反馈指示灯闪亮;具有延时控制逻辑的控制输出,应在延时结束后使启动按键指示灯常亮,启动/反馈指示灯闪亮;收到反馈信号后,启动/反馈指示灯应常亮。操作停止按键应能停止控制输出,使对应的停止按键指示灯常亮,接收到受控设备的停止信号后,启动/反馈指示灯熄灭;对于仍满足输出控制逻辑的控制输出,应使对应的启动按键指示灯闪亮。

d)控制装置处于自动工作状态时,满足输出控制逻辑的控制输出应能启动,指示灯应满足b)项要求。

e)受控设备的启动、停止、反馈和故障报警信息还应在控制装置的显示器上显示。

f)控制装置的微控制单元(MCU)不能正常工作时,不应影响指示灯和控制输出正常工作。

g)启动按钮(键)和停止按钮(键)同时处于不释放状态时,不应启动控制输出。

h)有源输出应满足生产企业规定的电压、电流要求;无源输出应满足生产企业规定的容量要求。

文件:013eab14fedd356c844a9fc745dabd968a0fc1bdae0457ecdf4802432f2f8c7b.jpg
标引序号说明:1——指示灯;2——带灯按键。
文件:7f264fecea9cf8b8b1549ec4b345ea9ade94dde2f9756ff5cc64022fcbd87b20.jpg
图1 控制开关纵向布局
文件:Fc091e74dce17e2770df3925f79aa0382b6068aee658766ae8db7ba3782467c3.jpg
图2 控制开关横向布局

标引序号说明:1——指示灯;2——带灯按键。

5.3.5.5 控制装置在接收火灾报警信号和/或气体报警信号后 [math]\displaystyle{ 3\mathrm{s} }[/math] 内应启动满足相关逻辑的控制输出(有延时要求时除外)。

5.3.5.6 控制装置应设置独立的火灾声光警报器控制按钮(键)和启动状态指示灯(器)。控制装置应能通过操作控制按钮(键)手动消除和启动火灾声光警报器的声、光警报信号,并指示警报信号的启动状态。

5.3.5.7 控制装置发出联动设备控制信号时,应发出相应的声光信号指示,该光信号指示不能被覆盖且应保持至手动恢复;在接收到联动设备反馈信号 [math]\displaystyle{ 5 \mathrm{~s} }[/math] 内应发出相应的声光信号,并保持至联动设备恢复。

5.3.5.8 如需要设置控制输出延时,延时应按下列方式设置:

a)对火灾声光警报器、联动设备及自动灭火系统控制输出的延时,应通过监测报警装置、报警触发器件和/或手动火灾报警按钮的信号实现;

b)延时不应超过 [math]\displaystyle{ 60~\mathrm{s} }[/math] ,延时时间变化步长不应超过1s;

c)在延时期间,应能手动插入或通过满足逻辑要求的手动火灾报警按钮直接启动输出功能;

d)任一输出延时均不应影响其他输出功能的正常工作,延时期间应有延时光指示。

5.3.5.9 控制装置应对控制输出有相应的输入“或”逻辑 and/or “与”逻辑编程功能,并满足下列要求:

a)对来自不同部位监测报警装置、报警触发器件和/或手动火灾报警按钮的报警信号进行“或”逻辑和/或“与”逻辑编程;

b)对来自同一监测报警装置或报警触发器件的报警信号进行“或”逻辑和/或“与”逻辑编程;

c)可设有分别或全部禁止对联动设备控制输出和自动灭火系统输出操作的手段;

d) 禁止对某一设备输出操作不应影响对其他设备的输出操作。

5.3.6 气体灭火控制和显示功能

5.3.6.1 控制装置应能控制其连接的气体灭火设备和相关联动设备。

5.3.6.2 控制装置在接收到满足逻辑的启动信号后,应能按预置逻辑完成以下功能:

a) 发出不同于其他声信号的气体灭火声光指示, 记录时间, 声信号应能手动消除, 当再次有启动控制信号输入时, 应能再次启动;

b) 启动声光警报器;

c)进入延时,延时期间应有延时光指示,显示延时时间和保护区域,关闭保护区域的门、窗和阀等,停止通风空调系统;

d)延时结束后,发出启动喷洒控制信号,并有光指示,启动保护区域的喷洒光警报器;

e)气体喷洒阶段应发出相应的声、光信号并保持至复位,记录时间。

5.3.6.3 控制装置的延时启动功能应满足下列要求:

a)延时时间应在 [math]\displaystyle{ 0\mathrm{s}\sim 30\mathrm{s} }[/math] 内可调;

b)延时期间,应能手动停止后续动作。

5.3.6.4 控制装置每个保护区域应有独立的手动和自动控制气体灭火启动功能,并有控制状态指示,控制状态不应受复位操作的影响。控制装置在自动状态下,手动插入操作优先;手动停止后,如再有启动控制信号,应按预置逻辑工作。

5.3.6.5 控制装置的气体喷洒声信号应优先于启动控制声信号和故障声信号;启动控制声信号应优先于故障声信号。

5.3.6.6 控制装置应具有分别启动和停止保护区域声光警报器的功能。

5.3.6.7 控制装置每个保护区域应设独立的工作状态指示灯。

5.3.6.8 控制装置每个保护区域应设独立的复位按键(按钮), 操作复位按键(按钮)后, 仍然存在的状态和信息均应保持或在 [math]\displaystyle{ 20 \mathrm{~s} }[/math] 内重新建立。

5.3.6.9 控制装置的输出特性应满足生产企业规定的要求。

5.3.6.10 控制装置应在机箱内部设置检修开关。当检修开关置于“检修”位置时,系统应进入检修模式,控制装置应通过状态指示灯或显示器明确指示,任何操作不应触发喷洒控制输出。

注:气体灭火控制 and 显示功能仅适用于具有此项功能的控制装置。

5.3.7 信息显示与查询功能

5.3.7.1 控制装置应能同时显示火灾报警、气体报警、联动信息和灭火动作信息,且各类信息不应交替显示。

5.3.7.2 控制装置信息显示按火灾报警信息、气体报警信息、联动信息、气体灭火动作信息、监管报警信息、故障报警信息、其他信息顺序由高至低排列信息显示等级;显示的信息应易于辨识,高等级信息应优先显示,低等级信息显示不应影响高等级信息显示。当控制装置处于某一高等级信息显示时,应能通过手动操作查询其他低等级信息,各信息不应交替显示。

5.3.7.3 控制装置应具有气体浓度显示功能,控制装置的浓度显示值应与监测报警装置的测量值保持同步。

5.3.7.4 控制装置应能显示监测报警装置的气体浓度最高值及其部位,且报警状态不应影响气体浓度最高值及其部位的显示;监测的其他部位气体浓度值应手动可查。

5.3.8 故障报警功能

5.3.8.1 控制装置应设故障总指示灯(器),无论控制装置处于何种状态,只要有故障报警信号输入,该故障总指示灯(器)均应点亮。

5.3.8.2 当控制装置与其连接的部件间发生故障时,控制装置应在 [math]\displaystyle{ 60\mathrm{~s} }[/math] 内发出与其他信号有明显区别的故障报警声、光信号,显示并记录故障报警时间,故障报警声信号应能手动消除,再有故障报警信号输入时,应能再启动;故障报警光信号应保持至故障排除。

5.3.8.3 控制装置应能显示下列故障的部位:

a)控制装置与监测报警装置、灭火相关设备、手动火灾报警按钮、其他探测器和组件间连接线的断路、短路(短路时发出火灾报警信号除外)和影响功能的接地;

b)监测报警装置、探测器等与底座间连接断路(适用时);

c)控制装置与其控制的声光警报器、气体释放警报器连接线的断路、短路和影响功能的接地;

d)与控制装置连接的监测报警装置的气敏元件脱落(仅适用于气敏元件采用插拔方式连接的监测报警装置)。

其中,a)、b)、d)故障在有火灾报警和气体报警信号时,除影响功能的接地故障外可不显示;c)故障显示不能受火灾报警信号和气体报警信号影响。

5.3.8.4 控制装置应能显示下列故障的类型:

a)给备用电源充电的充电器与备用电源间连接线的断路、短路故障;

b)备用电源与其负载间连接线的断路故障;

c) 主电源欠压;

d)控制装置电池故障;

e)运行数据存储单元不能保存数据。

5.3.8.5 控制装置应能显示所有故障信息。在不能同时显示所有故障信息时,未显示的故障信息应手动可查。

5.3.8.6 当主电源断电,备用电源不能保证控制装置正常工作时,控制装置应发出声故障报警信号并应能保持 [math]\displaystyle{ 1\mathrm{h} }[/math] 以上,该声信号不能被消音。

5.3.8.7 控制装置的故障报警信号在故障排除后,应自动或手动复位。手动复位后,控制装置应在 [math]\displaystyle{ 20\mathrm{s} }[/math] 内完成复位,并在显示器上显示完成复位的状态信息。复位后,控制装置应在 [math]\displaystyle{ 60\mathrm{s} }[/math] 内重新显示尚存在的故障。

5.3.8.8 任一故障均不得影响非故障部分的正常工作。

5.3.8.9 当控制装置采用总线工作方式时,应设有总线短路隔离器。短路隔离器动作时,控制装置应能指示出被隔离部件的部位号或故障部位号。当某一总线发生一处短路故障导致短路隔离器动作时,受短路隔离器影响的部件数量不应超过32个。

5.3.9 监管报警功能

5.3.9.1 控制装置应设专用监管报警状态总指示灯(器),无论控制装置处于何种状态,只要有监管报警信号输入,该监管报警状态总指示灯(器)应点亮,并显示监管报警时间。

5.3.9.2 当有监管报警信号输入时,控制装置应在 [math]\displaystyle{ 60\mathrm{s} }[/math] 内发出监管报警声、光信号,监管报警声信号与火灾报警声信号及气体报警声信号应有明显区别的;声信号应能手动消除,当新的监管信号输入时应能再启动;光信号应保持至手动复位。如监管报警信号仍存在,复位后监管报警状态应保持或在 [math]\displaystyle{ 60\mathrm{s} }[/math] 内重新建立。

5.3.9.3 控制装置应能显示所有监管信息,在不能同时显示所有监管信息时,未显示的监管信息应手动可查。

注:监管报警功能仅适用于具有此项功能的控制装置。

5.3.10 集中区域兼容功能

5.3.10.1 区域型控制装置应能向集中型控制装置发送火灾报警、气体报警、联动动作、灭火动作、故障报警以及可能具有的监管报警、延时等各种完整信息,并应能接收、处理集中型控制装置的相关指令。

5.3.10.2 集中型控制装置应能接收和显示来自各区域型控制装置的火灾报警、气体报警、联动动作、灭火动作、故障报警、自检以及可能具有的监管报警、延时等各种完整信息,进入相应状态,并应能向区域型控制装置发出控制指令。

5.3.10.3 集中型控制装置在与其连接的区域型控制装置间连接线发生断路、短路和影响功能的接地时应能进入故障状态并显示区域型控制装置的部位。

5.3.10.4 集中型控制装置应能向区域型控制装置授时,校准系统时钟。

5.3.10.5 集中区域兼容型控制装置应满足 [math]\displaystyle{ 5.3.10.1\sim 5.3.10.4 }[/math] 的要求。

注:集中区域兼容功能仅适用于集中型、区域型和集中区域兼容型控制装置。

5.3.11 自检功能

5.3.11.1 控制装置应具有检查本机的功能(以下称自检),自检时间不能超过 [math]\displaystyle{ 1\mathrm{min} }[/math],控制装置在执行自检功能期间,不应影响控制装置本身的火灾报警、气体报警和灭火启动功能,受控制的外接设备和输出接点不应发生误动作。

5.3.11.2 控制装置应能手动检查其面板所有指示灯(器),显示器和所有声器件的功能。

5.3.11.3 具有能手动检查各部位信号处理和显示功能的控制装置,应设专用自检总指示灯,只要有部位处于检查状态,该自检总指示灯(器)均应点亮,并满足下列要求:

a)控制装置应显示(或手动可查)所有处于自检状态中的部位;

b)每个部位均应能单独手动启动和解除自检状态;

c)处于自检状态的部位不应影响其他部位的显示和输出,控制装置的所有对外控制输出均不应发生误动作。

5.3.12 电源功能

5.3.12.1 控制装置的电源部分应具有主电源和备用电源转换装置。当主电源断电时,能自动转换到备用电源;当主电源恢复时,应能自动转换到主电源;主、备电源的转换不应使控制装置发出报警或动作信号;主、备电源的工作应有状态指示,主电源和备用电源应有过流保护措施。

5.3.12.2 控制装置至少一个回路按设计容量连接真实负载(该回路连接线长度为生产企业规定的长度,但不应小于 [math]\displaystyle{ 100\mathrm{m} }[/math],截面积为 [math]\displaystyle{ 1.0\mathrm{mm}^2 }[/math] 的铜质绞线),其他回路连接等效负载,主电源容量应能保证控制装置在下列条件下,连续正常工作 [math]\displaystyle{ 4\mathrm{h} }[/math]

a)控制装置容量不超过10个报警部位时,所有报警部位均处于报警状态;

b)控制装置容量超过10个报警部位时, [math]\displaystyle{ 20\% }[/math] 的报警部位(不少于10个报警部位,但不超过30个报警部位)处于报警状态。

5.3.12.3 控制装置至少一个回路按设计容量连接真实负载,其他回路连接等效负载,备用电源在放电至终止电压条件下,充电 [math]\displaystyle{ 24\mathrm{h} }[/math],其容量应能提供控制装置在监视状态下工作 [math]\displaystyle{ 8\mathrm{h} }[/math] 后,在下列情况下正常工作 [math]\displaystyle{ 30\mathrm{min} }[/math]

a)控制装置容量不超过10个报警部位时,所有报警部位均处于报警状态;

b)控制装置容量超过10个报警部位时,1/15的报警部位(不少于10个报警部位,但不超过30个报警部位)处于报警状态;

c)启动灭火功能。

5.3.12.4 当交流供电电压变动幅度在额定电压(220V)的 [math]\displaystyle{ 110\% }[/math][math]\displaystyle{ 85\% }[/math] 范围内,频率为 [math]\displaystyle{ (50\pm 1)\mathrm{Hz} }[/math] 时,控制装置应能正常工作。

5.3.12.5 在 5.3.12.2 的规定条件下,当交流供电电压变动幅度在额定电压 [math]\displaystyle{ (220\mathrm{V}) }[/math][math]\displaystyle{ 110\% }[/math][math]\displaystyle{ 85\% }[/math] 范围内,频率为 [math]\displaystyle{ (50 \pm 1)\mathrm{Hz} }[/math] 时,其输出直流电压的电压稳定度和负载稳定度不应大于 [math]\displaystyle{ 5\% }[/math]

5.3.13 程序运行监视功能

5.3.13.1 控制装置应有程序运行监视功能,当不能运行主要功能程序时,控制装置应在 [math]\displaystyle{ 60\mathrm{~s} }[/math] 内发出系统故障报警信号,点亮系统故障指示灯,进入异常状态。

5.3.13.2 手动或程序输入数据时,不论原状态如何,都不应引起程序的意外执行。

5.3.13.3 控制装置采用程序启动监测报警装置的确认灯时,应在发出报警信号的同时,启动相应监测报警装置的确认灯,确认灯应为常亮,且应与正常监视状态下确认灯的状态有明显区别。

5.3.14 控制软件要求

5.3.14.1 生产者应提交软件设计资料,软件设计符合标准要求并应至少包括下述内容:

a)主程序的功能描述(如流程图或结构图)如下。

1)各模块及其功能的主要描述;

2)各模块相互作用的方式;

3)程序的全部层次;

4)软件与控制装置硬件相互作用的方式;

5)模块调用的方式,包括中断过程。

b)存储器地址分配情况(如程序、特定数据和运行数据)。

c)软件及其版本。

5.3.14.2 若检验需要,生产者应能提供至少包含下述内容的详细设计文件。

a)控制装置总体配置概况,包括所有软件和硬件部分。

b)程序中每个模块的描述,包括:

1)模块名称;

2)执行任务的描述;

3)接口的描述,包括数据传输方式、有效数据的范围和验证。

5.3.15 绝缘电阻

控制装置的外部带电端子和电源端子的工作电压大于 [math]\displaystyle{ 50\mathrm{V} }[/math] 时,外部带电端子和电源端子与外壳间的绝缘电阻在正常大气条件下不应小于 [math]\displaystyle{ 100\mathrm{M}\Omega }[/math]

5.3.16 泄漏电流

采用 [math]\displaystyle{ 220\mathrm{V},50\mathrm{Hz} }[/math] 交流电源的控制装置,控制装置在1.06倍额定电压工作时,泄漏电流不应超过 [math]\displaystyle{ 0.5\mathrm{mA} }[/math]

5.3.17 电气强度

控制装置的外部带电端子和电源端子的工作电压大于 [math]\displaystyle{ 50\mathrm{V} }[/math] 时,外部带电端子和电源端子应能耐受频率为 [math]\displaystyle{ 50\mathrm{Hz} }[/math] 、有效值电压为 [math]\displaystyle{ 1250\mathrm{V} }[/math] 的交流电压,历时 [math]\displaystyle{ 60~\mathrm{s} }[/math] 的电气强度试验。试验期间,控制装置不应发生击穿放电现象(击穿电流不大于 [math]\displaystyle{ 20\mathrm{mA} }[/math] )。试验后,控制装置应满足5.3.3.2、5.3.4.2和5.3.8.3a)要求。

5.4 监测报警装置

5.4.1 通用要求

5.4.1.1 对监测报警装置进行调零、标定、更改参数等通电条件下的操作不应改变其外壳的完整性。

5.4.1.2 监测报警装置应采用 [math]\displaystyle{ 24\mathrm{V} }[/math] 及以下的直流电压供电,应具有防止电源极性反接的保护措施。

5.4.1.3 监测报警装置应具有工作状态指示灯,指示其正常监视、故障、报警工作状态。正常监视状态指示应为绿色,故障状态指示应为黄色,报警状态指示应为红色。指示灯应有中文功能注释。在 [math]\displaystyle{ 100\mathrm{lx} \sim 500\mathrm{lx} }[/math] 光照条件下、正前方 [math]\displaystyle{ 3\mathrm{m} }[/math] 处,指示灯的状态应清晰可见。

注:正常监视状态指监测报警装置接通电源正常工作,且未发出报警信号或故障信号时的状态。

5.4.1.4 高限报警和低限报警应能明确区分,当用一个指示灯时,低限报警应为闪亮,高限报警应为常亮。

5.4.1.5 监测报警装置的响应阈值或气体报警设定值应能通过控制装置进行设置和查询。

5.4.1.6 YJA型监测预警装置应至少具有氢气、二氧化碳和一氧化碳中两种类型气体复合监测功能。

5.4.1.7 具有气体监测功能的监测报警装置,应满足5.4.3和5.4.10的要求;具有烟雾浓度监测功能的监测报警装置,应采用光电感烟原理的传感器探测烟雾,并满足5.4.4的要求;具有温度参数监测功能的监测报警装置,应满足5.4.5、5.4.6和5.4.7的要求;具有压力监测功能的监测报警装置,应满足5.4.8的要求。

5.4.2 基本性能

5.4.2.1 监测报警装置在被监测区域内的气体浓度达到报警设定值时,应能发出热失控气体报警信号并保持至被复位;监测报警装置在被监视区域烟、温参数符合报警条件时,应能发出热失控火灾报警信号并保持至被复位。

5.4.2.2 吸气式监测报警装置外形尺寸不应大于 [math]\displaystyle{ 350\mathrm{mm}\times 350\mathrm{mm}\times 400\mathrm{mm} }[/math]

5.4.2.3 风冷型监测报警装置的气体报警设定值应符合以下规定:

a)一氧化碳低限报警设定值在 [math]\displaystyle{ 100 \times 10^{-6} }[/math] (体积分数) [math]\displaystyle{ \sim 250 \times 10^{-6} }[/math] (体积分数)范围,高限报警设定值在 [math]\displaystyle{ 800 \times 10^{-6} }[/math] (体积分数) [math]\displaystyle{ \sim 1000 \times 10^{-6} }[/math] (体积分数)范围;

b)氢气低限报警设定值应为 [math]\displaystyle{ 110 \times 10^{-6} }[/math] (体积分数),高限报警设定值在 [math]\displaystyle{ 200 \times 10^{-6} }[/math] (体积分数)~ [math]\displaystyle{ 500 \times 10^{-6} }[/math] (体积分数)范围;

c)二氧化碳低限报警设定值应为 [math]\displaystyle{ 1500 \times 10^{-6} }[/math] (体积分数),高限报警设定值应为 [math]\displaystyle{ 3000 \times 10^{-6} }[/math] (体积分数)。

5.4.2.4 液冷型监测报警装置的气体报警设定值应符合以下规定:

a)一氧化碳低限报警设定值在 [math]\displaystyle{ 190\times 10^{-6} }[/math] (体积分数) [math]\displaystyle{ \sim 400\times 10^{-6} }[/math] (体积分数)范围,高限报警设定值在 [math]\displaystyle{ 1000\times 10^{-6} }[/math] (体积分数) [math]\displaystyle{ \sim 1500\times 10^{-6} }[/math] (体积分数)范围;

b) 氢气低限报警设定值应为 [math]\displaystyle{ 200 \times 10^{-6} }[/math] (体积分数), 高限报警设定值在 [math]\displaystyle{ 500 \times 10^{-6} }[/math] (体积分数) [math]\displaystyle{ \sim 1000 \times 10^{-6} }[/math] (体积分数) 范围;

c)二氧化碳低限报警设定值应为 [math]\displaystyle{ 2500\times 10^{-6} }[/math] (体积分数),高限报警设定值应为 [math]\displaystyle{ 4000\times 10^{-6} }[/math] (体积分数)。

5.4.2.5 监测报警装置采用插拔结构气体传感器时,应具有结构性的防脱落措施。气体传感器发生脱落时,监测报警装置应能在 [math]\displaystyle{ 30\mathrm{~s} }[/math] 内发出故障信号。

5.4.2.6 吸气式监测报警装置内部吸气装置因故停止工作时,监测报警装置应在 [math]\displaystyle{ 30\mathrm{~s} }[/math] 内发出故障信号。监测报警装置吸气管路破漏和堵塞时,导致监测报警装置吸气流量大于正常吸气流量的 [math]\displaystyle{ 150\% }[/math] 或小于正常吸气流量的 [math]\displaystyle{ 50\% }[/math] 时,应在 [math]\displaystyle{ 30\mathrm{~s} }[/math] 内发出故障信号。

5.4.3 气体报警动作值

5.4.3.1 监测报警装置的一氧化碳报警动作值不应低于 [math]\displaystyle{ 50 \times 10^{-6} }[/math] (体积分数),氢气报警动作值不应低于 [math]\displaystyle{ 80 \times 10^{-6} }[/math] (体积分数)。

5.4.3.2 监测报警装置的报警动作值与报警设定值之差应满足以下要求:

a)对于报警设定值在 [math]\displaystyle{ 100 \times 10^{-6} }[/math] (体积分数) [math]\displaystyle{ \sim 500 \times 10^{-6} }[/math] (体积分数)之间的监测报警装置,一氧化碳报警动作值与报警设定值之差的绝对值不应大于 [math]\displaystyle{ 60 \times 10^{-6} }[/math] (体积分数),氢气报警动作值与报警设定值之差的绝对值不应大于 [math]\displaystyle{ 80 \times 10^{-6} }[/math] (体积分数);

b)对于报警设定值在 [math]\displaystyle{ 500 \times 10^{-6} }[/math] (体积分数) [math]\displaystyle{ \sim 1500 \times 10^{-6} }[/math] (体积分数)之间的监测报警装置,一氧化碳报警动作值与报警设定值之差的绝对值不应大于 [math]\displaystyle{ 100 \times 10^{-6} }[/math] (体积分数),氢气报警动作值与报警设定值之差的绝对值不应大于 [math]\displaystyle{ 200 \times 10^{-6} }[/math] (体积分数);

c)二氧化碳报警动作值与报警设定值之差的绝对值不应大于报警设定值的 [math]\displaystyle{ 5\% + 50 \times 10^{-6} }[/math] (体积分数)。

5.4.4 烟雾探测性能

5.4.4.1 烟雾报警动作值

5.4.4.1.1 监测报警装置响应阈值的测量应在标准烟箱(以下简称“烟箱”)中进行, 烟箱应符合附录F的规定, 并满足烟雾响应方位等试验的要求。

5.4.4.1.2 监测报警装置按正常监视状态安装在烟箱中。在有关条文中没有特殊要求时,监测报警装置的方位应为最不利方位,监测报警装置周围的气流应为 [math]\displaystyle{ (0.2 \pm 0.04) \mathrm{m} / \mathrm{s} }[/math] ,气流温度应为 [math]\displaystyle{ (23 \pm 5) ^{\circ} \mathrm{C} }[/math]

5.4.4.1.3 试验烟应符合附录F的规定。

5.4.4.1.4 试验前,烟箱和监测报警装置内部不应有试验烟存在。

5.4.4.1.5 试验烟应按 [math]\displaystyle{ 0.015\mathrm{dB / (m}\cdot \mathrm{min)}\leqslant \Delta m / \Delta t\leqslant 0.1\mathrm{dB / (m}\cdot \mathrm{min)} }[/math] 的升烟速率要求注入烟箱。注: [math]\displaystyle{ m }[/math] 的计算公式和测量方法见附录F。

5.4.4.1.6 监测报警装置的响应阈值为监测报警装置发出火灾报警信号时烟浓度的 [math]\displaystyle{ m }[/math][math]\displaystyle{ (\mathrm{dB / m}) }[/math] ,可调响应阈值的监测报警装置最小响应阈值 [math]\displaystyle{ m_{\mathrm{min}} }[/math] 不应小于 [math]\displaystyle{ 0.05\mathrm{dB / m} }[/math] ,不可调响应阈值的监测报警装置最小响应阈值 [math]\displaystyle{ m_{\mathrm{min}} }[/math] 不应小于 [math]\displaystyle{ 0.15\mathrm{dB / m} }[/math] 。对具有可调响应阈值的监测报警装置,应在生产企业规定的每种响应阈值等级条件下分别进行测量。

5.4.4.1.7 多次测量同一只监测报警装置的响应阈值,最大响应阈值(用 [math]\displaystyle{ m_{\mathrm{max}} }[/math] 表示)与最小响应阈值(用 [math]\displaystyle{ m_{\mathrm{min}} }[/math] 表示)的比值 [math]\displaystyle{ m_{\mathrm{max}}:m_{\mathrm{min}} }[/math] 不应大于1.6。

5.4.4.1.8 吸气式监测报警装置应按照生产企业规定的最大管路长度的正常安装方式进行安装,如果说明书给出多种安装方式,试验中应采用对监测报警装置最不利的安装方式,在最不利采样孔测量响应阈值,即监测报警装置发出火灾报警信号的烟浓度的 [math]\displaystyle{ m }[/math][math]\displaystyle{ (\mathrm{dB / m}) }[/math]

5.4.4.2 烟雾响应一致性

5.4.4.2.1 在最不利方位上连续测量每只非吸气式监测报警装置的响应阈值,最小响应阈值用 [math]\displaystyle{ m_{\mathrm{min}} }[/math] 表示,最大响应阈值 [math]\displaystyle{ m_{\mathrm{max}} }[/math] 表示,平均响应阈值用 [math]\displaystyle{ m_{\mathrm{rep}} }[/math] 表示, [math]\displaystyle{ m_{\mathrm{max}}: m_{\mathrm{rep}} }[/math] 不应大于 [math]\displaystyle{ 1.33, m_{\mathrm{rep}}: m_{\mathrm{min}} }[/math] 不应大于 1.5。

5.4.4.2.2 测量每只吸气式监测报警装置的响应阈值,最小响应阈值用 [math]\displaystyle{ m_{\mathrm{min}} }[/math] 表示,最大响应阈值 [math]\displaystyle{ m_{\mathrm{max}} }[/math] 表示,平均响应阈值用 [math]\displaystyle{ m_{\mathrm{rep}} }[/math] 表示, [math]\displaystyle{ m_{\mathrm{max}} : m_{\mathrm{rep}} }[/math] 不应大于1.33, [math]\displaystyle{ m_{\mathrm{rep}} : m_{\mathrm{min}} }[/math] 不应大于1.5。

5.4.4.3 烟雾响应重复性

5.4.4.3.1 对同一只非吸气式监测报警装置在同一方位上测6次烟雾响应阈值,应满足5.4.4.1.7的要求。

5.4.4.3.2 在吸气式监测报警装置正常工作位置的任意一个采样孔上连续测量6次响应阈值,应满足5.4.4.1.7的要求。

5.4.4.4 烟雾响应方位性能

分别在监测报警装置初始安装方位和旋转 [math]\displaystyle{ 180^{\circ} }[/math] 后的方位各测量1次响应阈值,响应阈值应满足5.4.4.1.7的要求。取两次测量中响应阈值较大者对应的安装方位作为最不利方位。

注:烟雾响应方位性能要求仅适用于具有烟雾探测功能的非吸气式监测报警装置。

5.4.5 动作温度

监测报警装置的最高应用温度应为 [math]\displaystyle{ 65~\mathrm{^\circ C} }[/math] ,监测报警装置的监测温度不大于最高应用温度时,不应发出火灾报警信号。监测报警装置的报警动作温度范围应在 [math]\displaystyle{ 70~^\circ \mathrm{C} \sim 90~^\circ \mathrm{C} }[/math]

注:动作温度要求仅适用于具有温度探测功能的监测报警装置。

5.4.6 温度响应时间性能

监测报警装置从 [math]\displaystyle{ 40^{\circ}\mathrm{C} }[/math] 开始,在不同升温速率条件下的温度报警响应时间应满足表2的要求。

表 2 监测报警装置的响应时间
升温速率 ℃/min 响应时间下限值 响应时间上限值
3 7 min 13 s 16 min
20 1 min 3 min 13 s
注:温度响应时间性能要求仅适用于具有温度探测功能的监测报警装置。

5.4.7 高温响应性能

监测报警装置在室温条件下以 [math]\displaystyle{ 1^{\circ}\mathrm{C / min} }[/math] 的升温速率升温至 [math]\displaystyle{ 65~^\circ \mathrm{C} }[/math] ,稳定 [math]\displaystyle{ 2\mathrm{h} }[/math] ,不应发出火灾报警或故障报警信号;稳定 [math]\displaystyle{ 2\mathrm{h} }[/math] 后,监测报警装置在 [math]\displaystyle{ 3^{\circ}\mathrm{C / min} }[/math][math]\displaystyle{ 20^{\circ}\mathrm{C / min} }[/math] 升温速率条件下的温度报警响应满足表3的要求。

表 3 监测报警装置的高温条件温度报警响应时间
升温速率 ℃/min 响应时间下限值 响应时间上限值
3 1 min 20 s 7 min 40 s
20 12 s 2 min
注:高温响应性能要求仅适用于具有温度探测功能的监测报警装置。

5.4.8 压力监测性能

监测报警装置的压力报警动作值应在 [math]\displaystyle{ 50\mathrm{kPa}\sim 120\mathrm{kPa} }[/math] 范围内。报警动作值与报警设定值之差的绝对值不应大于 [math]\displaystyle{ 1\mathrm{kPa} }[/math]

注:压力监测性能要求仅适用于具有压力探测功能的监测报警装置。

5.4.9 电源参数波动性能

按生产企业规定的供电参数上下限值(如未规定,则上、下限参数分别为额定参数 [math]\displaystyle{ 110\% }[/math][math]\displaystyle{ 85\% }[/math] )给控制装置供电,分别测量监测报警装置的响应性能,应满足下列要求。

a)气体报警动作值满足5.4.3的要求;

b)监测报警装置的温度响应时间应满足5.4.6的要求;

c)测量监测报警装置的烟雾响应阈值,与该只监测报警装置在烟雾响应一致性的阈值进行比较,三者中最大响应阈值用 [math]\displaystyle{ m_{\mathrm{max}} }[/math] 表示,最小响应阈值用 [math]\displaystyle{ m_{\mathrm{min}} }[/math] 表示, [math]\displaystyle{ m_{\mathrm{max}}:m_{\mathrm{min}} }[/math] 不应大于1.6;

d)压力报警动作值应满足5.4.8的要求。

5.4.10 抗中毒性能

5.4.10.1 取两只相同的探测器,其中一只在六甲基二硅醚干扰条件下工作 [math]\displaystyle{ 40\mathrm{min} }[/math] ,另一只在硫化氢干扰条件下工作 [math]\displaystyle{ 40\mathrm{min} }[/math] 。试验期间,监测报警装置不应发出报警信号或故障信号。

5.4.10.2 试验后,监测报警装置功能应正常。在正常大气条件下,使监测报警装置处于正常监视状态 [math]\displaystyle{ 20\mathrm{min} }[/math] ,然后重新测量气体报警动作值,监测报警装置的报警动作值与报警设定值之差应满足5.4.3的要求。

5.4.11 电池热失控报警性能

监测报警装置应满足附录G规定的电池热失控报警性能试验要求。

5.4.12 电解液火灾灵敏度

监测报警装置应在附录H规定的电解液火灾灵敏度试验结束前发出火灾报警或气体报警信号。

5.5 气候环境耐受性

控制装置、监测报警装置应能耐受住表4所规定的气候条件下的各项试验。试验期间,控制装置、监测报警装置应保持正常监视状态(特种型监测报警装置在高温(运行)试验期间可发出温度报警信号);试验后,应无破坏涂覆和腐蚀现象,控制装置、监测报警装置还应满足下列要求:

a)控制装置应满足5.3.3.2、5.3.4.2和5.3.8.3a)要求;

b) 测量监测报警装置的低限气体报警动作值, 一氧化碳的报警动作值与报警设定值之差的绝对值不应大于 [math]\displaystyle{ 80 \times 10^{-6} }[/math] (体积分数), 氢气的报警动作值与报警设定值之差的绝对值不应大于 [math]\displaystyle{ 100 \times 10^{-6} }[/math] (体积分数), 二氧化碳的报警动作值与报警设定值之差的绝对值不应大于报警设定值的 [math]\displaystyle{ 7 \% }[/math] ;

c)监测报警装置的温度响应时间应满足5.4.6的要求;

d)测量监测报警装置的烟雾响应阈值,与同一只监测报警装置在烟雾响应一致性的阈值进行比较,应满足5.4.4.1.7的要求;

e)压力报警动作值应满足5.4.8的要求。

表 4 气候环境条件
试验名称 试验参数 试验条件 工作状态
控制装置 监测报警装置
高温(运行)试验 温度/℃ - 普通型: [math]\displaystyle{ 55\pm 2 }[/math] 特种型: [math]\displaystyle{ 70\pm 2 }[/math] 正常监视状态
持续时间/h - 2
低温(运行)试验 温度/℃ [math]\displaystyle{ -10\pm 2 }[/math] 普通型: [math]\displaystyle{ -10\pm 2 }[/math]; 特种型: [math]\displaystyle{ -40\pm 2 }[/math] 正常监视状态
持续时间/h 16 2
恒定湿热(运行)试验 温度/℃ [math]\displaystyle{ 40\pm 2 }[/math] [math]\displaystyle{ 40\pm 2 }[/math] 正常监视状态
相对湿度/% [math]\displaystyle{ 93\pm 3 }[/math] [math]\displaystyle{ 93\pm 3 }[/math]
持续时间/h 96 2
恒定湿热(耐久)试验 温度/℃ [math]\displaystyle{ 40\pm 2 }[/math] - 不通电状态
相对湿度/% [math]\displaystyle{ 93\pm 3 }[/math] -
持续时间/d 21 -
注:“-”表示不适用。

5.6 机械环境耐受性

控制装置、监测报警装置应能耐受住表5所规定的机械环境条件下的各项试验。试验期间,处于通电状态的控制装置、监测报警装置应保持正常监视状态;试验后,不应有机械损伤和紧固部位松动现象,控制装置、监测报警装置还应满足下列要求:

a)控制装置应满足5.3.3.2、5.3.4.2和5.3.8.3a)要求;

b)测量监测报警装置的低限气体报警动作值,气体报警动作值应满足5.4.3的要求;

c)监测报警装置的温度响应时间应满足5.4.6的要求;

d)测量监测报警装置的烟雾响应阈值,与同一只监测报警装置在烟雾响应一致性的阈值进行比较,应满足5.4.4.1.7的要求;

e)压力报警动作值应满足5.4.8的要求。

表 5 机械环境条件
试验名称 试验参数 试验条件 工作状态
冲击(运行)试验 峰值加速度/[math]\displaystyle{ (\mathrm{m/s^2}) }[/math] 监测报警装置的质量为 [math]\displaystyle{ M }[/math] kg [math]\displaystyle{ (100-20M)\times 10 }[/math] (质量 [math]\displaystyle{ M\leqslant 4.75 }[/math] kg时) 正常监视状态
脉冲持续时间(半正弦波脉冲)/ms 6
冲击方向数 1
冲击次数 3
振动(正弦)(运行)试验 频率循环范围/Hz 10~150 正常监视状态
加速度幅值/[math]\displaystyle{ (\mathrm{m/s^2}) }[/math] 控制装置: 5 监测报警装置: 10
扫频速率/(oct/min) 1
每个轴线上扫频次数 1
轴线数 控制装置: 3 监测报警装置: 1
振动(正弦)(耐久)试验 频率循环范围/Hz 10~150 非工作状态
加速度幅值/[math]\displaystyle{ (\mathrm{m/s^2}) }[/math] 10
扫频速率/(oct/min) 1
轴线扫频次数 20
轴线数 1
碰撞试验 碰撞能量/J [math]\displaystyle{ 0.5\pm 0.04 }[/math] 正常监视状态
碰撞次数 3
注1:控制装置不进行冲击(运行)试验、振动(正弦)(耐久)试验。注2:监测报警装置不进行碰撞试验。

5.7 电磁兼容性能

控制装置、监测报警装置应能耐受表6所规定的电磁干扰条件下的各项试验。试验期间,控制装置、监测报警装置应保持正常监视状态,电源瞬变试验期间允许控制装置发出主电源故障报警信号。试验后应满足下列要求:

a)控制装置应满足5.3.3.2、5.3.4.2和5.3.8.3a)要求;

b)测量监测报警装置的低限气体报警动作值,气体报警动作值应满足5.4.3的要求;

c)监测报警装置的温度响应时间应满足5.4.6的要求;

d)测量监测报警装置的烟雾响应阈值,与同一只监测报警装置在烟雾响应一致性的阈值进行比较,应满足5.4.4.1.7的要求;

e)压力报警动作值应满足5.4.8的要求。

表 6 电磁兼容性试验条件
试验名称 试验参数 试验条件 工作状态
射频电磁场辐射抗扰度试验 场强/(V/m) 10 正常监视状态
频率范围/MHz 80~1000
扫频步长 不超过前一频率的1%
调制幅度 80%(1kHz,正弦)
射频场感应的传导骚扰抗扰度试验 频率范围/MHz 0.15~80 正常监视状态
电压/dB μV 140
调制幅度 80%(1 kHz,正弦)
静电放电抗扰度试验 放电电压/kV 空气放电(绝缘体外壳): 8 接触放电(导体外壳和耦合板): 6 正常监视状态
放电极性 正、负
放电间隔/s [math]\displaystyle{ \geqslant 1 }[/math]
每点放电次数 10
电快速瞬变脉冲群抗扰度试验 瞬变脉冲电压/kV AC电源线: [math]\displaystyle{ 2\times(1\pm 0.1) }[/math] 其他连接线: [math]\displaystyle{ 1\times(1\pm 0.1) }[/math] 正常监视状态
重复频率/kHz [math]\displaystyle{ 5\times(1\pm 0.2) }[/math]
极性 正、负
时间 每次 1 min
浪涌(冲击)抗扰度试验 浪涌(冲击)电压/kV AC电源线: 线—线 [math]\displaystyle{ 1\times(1\pm 0.1) }[/math],线—地 [math]\displaystyle{ 2\times(1\pm 0.1) }[/math];其他连接线: 线—地 [math]\displaystyle{ 1\times(1\pm 0.1) }[/math],线—线 [math]\displaystyle{ 0.5\times(1\pm 0.1) }[/math] 正常监视状态
极性 正、负
试验次数 5
电源瞬变试验 电源瞬变方式 通电 9s ~ 断电 1s 正常监视状态
试验次数 500
施加方式 6次/min
电压暂降、短时中断和电压变化的抗扰度试验 持续时间ms 200(电压下滑至40%),20(电压下滑至0) 正常监视状态
试验次数 10
注1:直流24V供电的控制装置不进行电源瞬变试验和电压暂降、短时中断和电压变化的抗扰度试验。注2:监测报警装置不进行电源瞬变试验和电压暂降、短时中断和电压变化的抗扰度试验。

6 试验

6.1 通则

6.1.1 试验大气条件

除有关条文另有说明外,各项试验均在下列大气条件下进行:

——温度: [math]\displaystyle{ 15\mathrm{^{\circ}C}\sim 35\mathrm{^{\circ}C} }[/math]

相对湿度: [math]\displaystyle{ 25\% \sim 75\% }[/math]

——大气压力: [math]\displaystyle{ 86\mathrm{kPa}\sim 106\mathrm{kPa} }[/math]

6.1.2 试验的正常监视状态

若试验方法要求控制装置和监测报警装置在正常监视状态下工作,应将监测报警装置和控制装置连接。在有关条文中没有特殊要求时,应保证控制装置的工作电压为额定工作电压,并在试验期间保持工作电压稳定。

6.1.3 监测报警装置安装

监测报警装置应按生产企业规定的正常安装方式安装。如果说明书给出多种安装方式,说明书中应给出对监测报警装置工作最不利的安装方式,并在试验中采用最不利的安装方式。

6.1.4 容差

如果在要求或试验程序中未指定偏差限值,则偏差限值为 [math]\displaystyle{ \pm 5\% }[/math] ;环境条件参数偏差应符合GB/T16838要求。

6.2 控制装置试验

6.2.1 试验程序

6.2.1.1 试验程序见表7。

6.2.1.2 生产企业应提交使用说明书;对于软件实现控制功能的控制装置,还应提交软件文件和模拟MCU不能正常运行的装置。

6.2.1.3 试验样品(以下简称“试样”)为2台(集中区域兼容型控制装置为4台,每2台控制装置组成1套试样)。试样在试验前予以编号。非金属外壳控制装置,应增加1台试样,按照附录D的要求进行外壳燃烧性能试验,试验合格后对其他试样予以编号,进行试验。

表 7 控制装置试验程序
序号 章条 试验项目 控制装置编号
1 2
1 6.2.2 试验前检查
2 6.2.3 气体监测预警功能试验
3 6.2.4 火灾监测报警功能试验
4 6.2.5 控制功能试验
5 6.2.6 气体灭火控制和显示功能试验
6 6.2.7 信息显示与查询功能试验
7 6.2.8 故障报警功能试验
8 6.2.9 监管报警功能试验
9 6.2.10 集中区域兼容功能试验
10 6.2.11 自检功能试验
11 6.2.12 电源功能试验
12 6.2.13 程序运行监视功能试验
13 6.2.14 绝缘电阻试验 -
14 6.2.15 泄漏电流试验 -
15 6.2.16 电气强度试验 -
16 6.2.17 射频电磁场辐射抗扰度试验 -
17 6.2.18 射频场感应的传导骚扰抗扰度试验 -
18 6.2.19 静电放电抗扰度试验 -
19 6.2.20 电快速瞬变脉冲群抗扰度试验 -
20 6.2.21 浪涌(冲击)抗扰度试验 -
21 6.2.22 电源瞬变试验 -
22 6.2.23 电压暂降、短时中断和电压变化的抗扰度试验 -
23 6.2.24 低温(运行)试验 -
24 6.2.25 恒定湿热(运行)试验 -
25 6.2.26 恒定湿热(耐久)试验 -
26 6.2.27 振动(正弦)(运行)试验 -
27 6.2.28 碰撞试验 -
注:气体灭火控制和显示功能、监管报警功能和集中区域兼容功能试验仅适用于具有相应功能的试样。

6.2.2 试验前检查

6.2.2.1 检查步骤

6.2.2.1.1 试样应按5.1的要求检查系统要求,按5.2、5.3.1和第8章的要求进行检查。

6.2.2.1.2 按 GB/T 4208—2017 的要求对试样进行外壳防护等级试验,非金属外壳的试样按照附录 D 的要求进行燃烧性能试验。

6.2.2.1.3 按 GB/T 4208—2017 的要求对试样的运行数据存储单元进行外壳防护等级试验。试验时, 运行数据存储单元处于断电状态, 按照外壳内气压与周围大气压力相同的外壳类型进行试验。

6.2.2.1.4 按附录E的要求对试样的运行数据存储单元进行功能试验。

6.2.2.1.5 按5.3.2的要求检查试样的操作级别。

6.2.2.2 试验设备

试验设备应满足GB/T4208—2017、附录D和附录E的要求。

6.2.3 气体监测预警功能试验

6.2.3.1 将试样同一报警回路中至少两个部位接上监测报警装置、探测器等组件,两个部位接上手动火灾报警按钮;多回路的试样还应至少在另一个回路上按上述要求接上监测报警装置和手动火灾报警按钮,其他回路可分别接上等效负载;接通电源,使试样处于正常监视状态。

6.2.3.2 使一只监测报警装置发出气体报警信号,测量从监测报警装置发出气体报警信号至试样发出气体报警信号的时间间隔,观察并记录试样发出气体报警声、光信号(包括总指示、部位指示等)情况。

6.2.3.3 手动消除预警声信号,并使另一部位发出气体报警信号。检查试样消音功能、消音指示功能、气体报警声信号再启动功能和气体报警信息显示功能。

6.2.3.4 观察并记录最先报警显示情况。

6.2.3.5 观察并记录后续报警部位显示情况。检查试样的手动查询功能,观察并记录每个气体报警信号的显示情况和报警总数显示情况及气体报警事件记录情况。

6.2.4 火灾监测报警功能试验

6.2.4.1 将试样同一报警回路中至少两个部位接上监测报警装置、两个部位接上手动火灾报警按钮;多回路的试样还应至少在另一个回路上按上述要求接上监测报警装置和手动火灾报警按钮,其他回路可分别接上等效负载;接通电源,使试样处于正常监视状态。

6.2.4.2 使一只监测报警装置发出火灾报警信号,测量从监测报警装置发出火灾报警信号至试样发出火灾报警信号的时间间隔,观察并记录试样发出火灾报警声、光信号(包括总指示、部位指示等)情况。

6.2.4.3 使一个手动火灾报警按钮发出火灾报警信号,记录从手动火灾报警按钮发出火灾报警信号至试样发出火灾报警信号的时间间隔,检查手动火灾报警按钮报警的指示情况。

6.2.4.4 手动消除火灾报警声信号,并使另一火灾部位发出火灾报警信号。检查试样消音功能、消音指示功能、火灾报警声信号再启动功能和火灾报警信息显示功能。

6.2.4.5 观察并记录首火警显示情况。

6.2.4.6 观察并记录后续报警部位显示情况,如后续报警部位都能在显示区域内显示,应增加报警部位数,直至所有的后续报警部位不能同时在显示区域内显示;检查试样的手动查询功能,观察并记录每个火灾报警信号的显示情况和火警总数显示情况及火灾报警事件记录情况。

6.2.5 控制功能试验

6.2.5.1 检查并记录试样的火灾声光警报器控制输出、手动/自动状态转换钥匙、手动控制状态指示灯和自动控制状态指示灯的设置情况。

6.2.5.2 使试样处于正常监视状态,设置试样连接的监测报警装置分别发出火灾报警信号、气体报警信号和故障报警信号,检查显示器的显示情况。操作信息确认按钮(键),检查试样信息确认功能及信息标识情况。

6.2.5.3 操作试样,使试样处于手动控制状态,且至少1组控制输出满足输出控制逻辑,操作联动启动控制按钮(键),检查试样的控制输出启动情况。

6.2.5.4 检查并记录试样控制输出点数及直接控制输出按钮(键)和指示灯的设置情况,并按下列要求检查试样的控制输出功能:

a)操作试样,使试样至少1组控制输出满足输出控制逻辑,检查试样启动按键指示灯的指示情况,操作启动按键,检查试样的控制输出、启动按键指示灯、启动/反馈指示灯的指示情况和显示器的显示情况;

b)操作停止按键,检查试样的控制输出、停止按键指示灯、启动/反馈指示灯、启动按键指示灯的指示情况和显示器的显示情况;

c)使试样连接受控设备分别发出故障和反馈信号,检查试样的输出故障指示灯和反馈指示灯的指示情况和显示器的显示情况;

d) 操作模拟MCU不能正常工作的装置,使试样的MCU不能正常工作,分别操作启动按键和停止按键,观察并记录试样的控制输出、启动按键指示灯和停止按键指示灯的指示情况;

e)操作试样,使试样处于自动工作状态,检查满足输出控制逻辑的控制输出启动情况;

f)同时操作手动启动按键和手动停止按键处于不释放状态,检查试样的控制输出情况;

g)测量试样控制输出的输出电压、电流和容量。

6.2.5.5 将试样接上火灾声光警报器,在任一报警回路接入两只监测报警装置和一只手动火灾报警按钮,其他回路可分别接上等效负载,接通电源,使试样处于正常监视状态,并确认控制逻辑。

6.2.5.6 使相应的监测报警装置发出报警信号,记录火灾声光警报器输出启动时间。

6.2.5.7 手动消除火灾声光警报器声警报信号,再手动启动声警报信号,消音后,再使相应的监测报警装置发出报警信号,记录声警报信号的情况和声报警信号状态指示情况。

6.2.5.8 将试样任一组控制消防联动设备的输出端接入消防联动设备(或模拟负载),分别完成下列控制操作:

a)操作手动/自动状态转换钥匙,使试样处于自动工作状态;

b)对相应的监测报警装置或手动火灾报警按钮编程,使试样启动该消防联动设备,并手动恢复检查并记录试样声光信号指示和消防联动执行情况;

c)使消防联动设备动作并产生反馈,观察并记录试样反馈声光信号的指示情况及声光指示发出的时间;将消防联动设备的反馈撤销,观察并记录试样反馈声光信号指示情况;

d) 操作试样的手动/自动状态转换钥匙, 使试样处于手动工作状态, 重复 b)、c) 的操作过程, 观察并记录试样的声光信号指示和消防联动执行情况。

6.2.5.9 对具有输出延时功能的试样,通过对监测报警装置和/或手动火灾报警按钮编程设置消防联动设备输出的延时进行试验:

a)分别使相应的监测报警装置和/或手动火灾报警按钮启动,记录试样发出火灾报警信号到火灾声光警报器、消防联动设备的输出控制启动的时间间隔及延时指示情况;

b)观察并记录试样的控制输出最大延时及延时设置步长情况;

c)处于延时阶段时,通过手动火灾报警按钮启动输出控制,观察并记录输出控制的指示情况;

d) 检查其他未设置延时功能的输出,观察并记录相应的输出情况。

6.2.5.10 操作试样,设置对控制输出的输入“或”逻辑 and/or “与”逻辑编程功能,进行下列操作:

a)设置不同部位监测报警装置、报警触发器件 and/or 手动火灾报警按钮的报警信号进行“或”逻辑 and/or “与”逻辑编程,操作被编程的监测报警装置、报警触发器件 and/or 手动火灾报警按钮发出报警信号,观察并记录试样控制输出情况;

b)设置同一监测报警装置或报警触发器件的报警信号进行“或”逻辑 and/or “与”逻辑编程,操作被编程的监测报警装置、报警触发器件发出对应的报警信号,观察并记录试样控制输出情况;

c)启动其他未禁止的控制输出,观察并记录试样控制输出情况。

6.2.6 气体灭火控制和显示功能试验

6.2.6.1 将试样与灭火相关设备相连,接通电源,使试样处于正常监视状态。

6.2.6.2 操作启动和停止按键(按钮)使试样接收启动控制信号后,观察并记录试样状态(启动控制信号、延时信号、启动喷洒控制信号、喷洒信号)、显示延时时间和保护区域、负载启动、记录时间情况并检查试样是否能按预置逻辑工作;使试样复位,观察并记录试样的喷洒声、光信号情况。

6.2.6.3 手动消除启动控制声信号,再次启动试样灭火功能,检查试样的消音功能和再启动功能。

6.2.6.4 操作试样设置延时,检查并记录延时时间的设置和延时时间调整情况。

6.2.6.5 操作试样手动和自动装置并复位,检查并记录试样控制状态指示情况:自动状态下,使试样接收启动控制信号,手动插入操作停止按键(按钮)后,使试样再次接收启动控制信号,观察并记录试样手动和自动优先情况及再启动情况。

6.2.6.6 使试样分别处于启动控制声信号、喷洒声信号、故障声信号,检查并记录声信号优先情况。

6.2.6.7 观察并记录每个保护区域的指示灯显示情况。

6.2.7 信息显示与查询功能试验

使试样分别处于火灾报警状态、气体报警状态、故障报警状态、自检状态,按5.3.7.1、5.3.7.2的要求,观察并记录试样信息的显示及查询情况。按5.3.7.3、5.3.7.4的要求,检查试样的气体浓度显示功能。

6.2.8 故障报警功能试验

6.2.8.1 将试样同一报警回路中至少两个报警部位接上监测报警装置、两个部位接上手动火灾报警按钮,多回路的试样还应至少在另一个回路按上述要求接上监测报警装置和手动火灾报警按钮,其他回路可分别接上等效负载,接通电源,使试样处于正常监视状态。

6.2.8.2 分别按 [math]\displaystyle{ 5.3.8.3\mathrm{a})\sim \mathrm{d} }[/math][math]\displaystyle{ 5.3.8.4\mathrm{a})\sim \mathrm{e} }[/math] 的要求,对试样各项故障功能进行测试,观察并记录试样的故障报警声、光信号、故障总指示灯(器)、故障响应时间及部位和类型的区分情况。

6.2.8.3 手动消除故障报警声信号,并使另一部位发出故障报警信号。检查试样的消音功能、故障报警声信号再启动功能和故障报警信号显示功能。

6.2.8.4 当5.3.8.3c)故障发生时,使另一非故障部位发出火灾报警信号或气体报警信号,观察并记录试样故障显示情况。

6.2.8.5 当备用电源单独工作至不足以保证试样正常工作时,观察并记录试样的声信号及其保持时间。

6.2.8.6 对由软件控制实现各项功能的试样,操作模拟程序不能正常运行的装置,使程序不能正常运行或存储器内容出错,检查试样故障指示情况。

6.2.8.7 使任一部件或部位处于故障状态,检查并记录试样非故障部分工作状态。

6.2.8.8 对采用总线工作方式的试样,使总线某点处于短路故障状态,观察并记录隔离器动作及隔离部件的指示情况。

6.2.8.9 试样的所有故障信息都能在显示区域内显示时,应增加故障总数,直至所有故障信息不能同时在显示区域内显示,观察并记录故障信息查询情况。

6.2.9 监管报警功能试验

6.2.9.1 将试样接入生产企业明示具有此项功能的设备,接通电源,使试样处于正常监视状态。

6.2.9.2 使任一设备发出监管报警信号,观察并记录试样监管报警声、光信号、监管总指示灯(器)及监管报警信号发出时间。

6.2.9.3 手动消除监管报警声信号,再使另一设备发出监管报警信号,观察并记录试样监管报警声、光信号情况及信息显示和手动查询功能情况。

6.2.9.4 排除所有设备的监管报警信号,操作手动复位机构,观察并记录试样显示情况。

6.2.10 集中区域兼容功能试验

6.2.10.1 将区域型试样及其负载与集中型试样相连并处于正常监视状态(集中区域兼容型试样将其中一台设为区域,另一台设为集中)。使区域型试样发出火灾报警信号、气体报警信号、故障报警信号以及试样可能具有的控制、监管报警信号,观察区域型试样和集中型试样的状态,记录集中型试样的信号类别、部位和时间的显示情况,以及声、光报警信号的指示情况。

6.2.10.2 使区域型试样处于自检状态以及试样可能具有的屏蔽、延时状态,观察并记录集中型试样的状态和信息显示情况。

6.2.10.3 复位试样,使其处于正常监视状态向。分别使集中型试样与区域型试样间的连接线发生断路、短路、接地;检验并记录集中型试样的显示情况。

6.2.10.4 操作集中型试样对区域型试样进行授时,观察区域型试样时间设置情况。

6.2.11 自检功能试验

6.2.11.1 将试样的任一组控制输出接上火灾声光警报器,任一报警回路接入两只监测报警装置和一只手动火灾报警按钮,其他回路(或部位)可分别接上等效负载,接通电源,使试样处于正常监视状态。

6.2.11.2 手动操作试样自检机构,观察并记录试样的声光信号及输出接点动作情况,记录自检时间。

6.2.11.3 手动操作试样的指示灯(器)、显示器自检功能,观察并记录所有指示灯(器)和显示器的指示情况。

6.2.11.4 对于具有能检查各部位报警信号处理和显示功能的试样,使任一部位处于自检状态,检查并记录试样的自检总指示灯(器)的设置、点亮情况及处于自检状态部位显示或手动查询情况。

6.2.11.5 手动操作解除正在进行的任一部位自检状态,观察并记录试样的状态。

6.2.11.6 使任一部位处于自检状态,检查并记录试样其他非自检部位的显示、输出及外控接点动作情况。

6.2.12 电源功能试验

6.2.12.1 主备电转换试验

在试样处于正常监视状态下,切断试样的主电源,使试样由备用电源供电,再恢复主电源,检查并记录试样主、备电源的转换、状态的指示情况及其主电源过流保护情况。

6.2.12.2 主电源试验

6.2.12.2.1 将试样一个回路按设计容量连接真实负载,其他回路连接等效负载。

6.2.12.2.2 按5.3.12.2a)、5.3.12.2b)的要求,使试样处于报警状态,观察并记录试样工作情况。

6.2.12.2.3 对于输出电压为直流电压的试样,将试样一个回路按设计容量连接真实负载,其他回路连接等效负载。

a) 按5.3.12.2a)、b)的要求,使试样处于报警状态。使试样的输入电压为 [math]\displaystyle{ 220\mathrm{V}(50\mathrm{Hz}) }[/math] 。测量并记录试样输出直流电压值 [math]\displaystyle{ U_{0} }[/math]

b)使试样的输入电压为 [math]\displaystyle{ 187\mathrm{V}(50\mathrm{Hz}) }[/math] ,在试样输出直流电压达到稳定后,测量并记录该电压值 [math]\displaystyle{ U_{01} }[/math] 。使试样的输入电压为 [math]\displaystyle{ 242\mathrm{V}(50\mathrm{Hz}) }[/math] ,在试样输出直流电压达到稳定后,测量并记录该电压值 [math]\displaystyle{ U_{01} }[/math]

c) 将试样复位, 使其处于正常监视状态, 重复 6.2.12.2.3b)试验。按公式(1)计算出试样输出直流电压的相对变化量, 取其最大值:

[math]\displaystyle{ S _ {0} = \left| \Delta U _ {0} / U _ {0} \right| \quad \dots (1) }[/math]

式中:[math]\displaystyle{ \Delta U _ {0} = U _ {0} - U _ {0 1} }[/math]

d)按5.3.12.2a)、5.3.12.2b)的要求,使试样处于报警状态。使试样的输入电压为 [math]\displaystyle{ 242\mathrm{V} }[/math] [math]\displaystyle{ (50\mathrm{Hz}) }[/math] ,在试样输出直流电压达到稳定后,测量并记录该电压值 [math]\displaystyle{ U_{0} }[/math] 。然后使试样的等效负载阶跃变化到监视状态下的数值,在试样输出直流电压达到稳定后,测量并记录该电压值 [math]\displaystyle{ U_{01} }[/math]

e)使试样的输入电压为 [math]\displaystyle{ 187\mathrm{V}(50\mathrm{Hz}) }[/math] ,重复6.2.12.2.3d)试验。按公式(2)计算出电压的相对变化量,取其最大值:

[math]\displaystyle{ S _ {1} = \left| \Delta U _ {0} / U _ {0} \right| \quad \dots (2) }[/math]

式中:[math]\displaystyle{ \Delta U _ {0} = U _ {0} - U _ {0 1} }[/math]

6.2.12.2.4 对于采用总线控制方式的试样进行下列试验:

a) 将试样一个回路按设计容量连接真实负载(该回路连接线长度为 [math]\displaystyle{ 100 \mathrm{~m} }[/math] , 截面积为 [math]\displaystyle{ 1.0 \mathrm{~mm}^{2} }[/math] 的铜质绞线), 回路末端连接 10 只监测报警装置 (容量少于 10 只按实际数量), 其他回路连接等效负载,使其处于正常监视状态;

b)使试样的输入电压分别为 [math]\displaystyle{ 220\mathrm{V}(50\mathrm{Hz}) }[/math] 、187V(50Hz)、242V(50Hz),使末端的10只监测报警装置(容量少于10只按实际数量)处于报警状态。观察并记录监测报警装置确认灯的状态及试样接收和发出报警信号的情况。

6.2.12.3 备用电源试验

6.2.12.3.1 将试样一个回路按设计容量连接真实负载,其他回路连接等效负载。将试样的备用电源放电至终止电压,再对其进行 [math]\displaystyle{ 24\mathrm{h} }[/math] 充电。

6.2.12.3.2 关闭试样主电源, [math]\displaystyle{ 8\mathrm{h} }[/math] 后观察并记录试样的状态。

6.2.12.3.3 按5.3.12.3的要求,使试样处于报警状态,观察并记录试样工作情况。

6.2.13 程序运行监视功能试验

6.2.13.1 检查并记录程序存储器种类、标识情况及其软件防护措施。

6.2.13.2 将试样主要功能程序置于不能工作状态,观察并记录试样的状态及发出故障报警信号的时间。

6.2.13.3 使试样的存储器(包括程序和指定区域的数据)的内容出错,观察并记录试样的状态及发出故障的时间。

6.2.13.4 操作试样进行手动和程序输入数据,观察并记录试样的状态。

6.2.13.5 对采用程序启动火灾报警装置确认灯的试样,观察并记录监测报警装置确认灯的点亮情况。

6.2.14 绝缘电阻试验

6.2.14.1 试验步骤

在正常大气条件下,用绝缘电阻试验装置,分别对试样的下列部位施加 [math]\displaystyle{ 500\mathrm{V}\pm 50\mathrm{V} }[/math] 直流电压,持续 [math]\displaystyle{ 60~\mathrm{s}\pm 5~\mathrm{s} }[/math] ,测量试样的绝缘电阻值:

a)工作电压大于 [math]\displaystyle{ 50\mathrm{V} }[/math] 的外部带电端子与外壳间;

b)电源端子或电源接线端子与外壳间(电源开关置于开位置,不接通电源)。

6.2.14.2 试验设备

应采用满足下列技术要求的绝缘电阻试验装置:

a)试验电压: [math]\displaystyle{ 500\mathrm{V}\pm 50\mathrm{V} }[/math]

b)测量范围: [math]\displaystyle{ 0\mathrm{M}\Omega \sim 500\mathrm{M}\Omega }[/math]

c)最小分度: [math]\displaystyle{ 0.1\mathrm{M}\Omega }[/math]

d) 计时: [math]\displaystyle{ 60 \mathrm{~s} \pm 5 \mathrm{~s} }[/math]

6.2.15 泄漏电流试验

6.2.15.1 试验步骤

使试样处于正常监视状态,调节主电供电电压为试样额定电压的1.06倍,测量并记录其总泄漏电流值。

6.2.15.2 试验设备

采用满足下列技术要求的泄漏电流试验装置:

a)试验电压:试样额定电压的1.06倍;

b)泄漏电流测量范围: [math]\displaystyle{ 0.05\mathrm{mA}\sim 10\mathrm{mA} }[/math]

6.2.16 电气强度试验

6.2.16.1 试验步骤

6.2.16.1.1 将试样的接地保护元件拆除。用电气强度试验装置,以 [math]\displaystyle{ 100\mathrm{V / s}\sim 500\mathrm{V / s} }[/math] 的升压速率,对试样的电源端子或电源接线端子与外壳间施加 [math]\displaystyle{ 1250\mathrm{V} / 50\mathrm{Hz} }[/math] 的试验电压,持续 [math]\displaystyle{ 60~\mathrm{s}\pm 5~\mathrm{s} }[/math] ,再以 [math]\displaystyle{ 100\mathrm{V / s}\sim 500\mathrm{V / s} }[/math] 的降压速率使试验电压低于试样额定电压后,方可断电。

6.2.16.1.2 试验后,按5.3.3.2、5.3.4.2和5.3.8.3中a)要求对试样进行功能测试。

6.2.16.2 试验设备

应采用满足下列技术要求的电气强度试验装置:

a)试验电压:电压为 [math]\displaystyle{ 0\mathrm{V}\sim 1250\mathrm{V} }[/math] (有效值)连续可调,频率为 [math]\displaystyle{ 50~\mathrm{Hz} }[/math]

b)升、降压速率: [math]\displaystyle{ 100\mathrm{V / s}\sim 500\mathrm{V / s} }[/math]

c) 计时: [math]\displaystyle{ 60 \mathrm{~s} \pm 5 \mathrm{~s} }[/math] ;

d)击穿报警预置电流: [math]\displaystyle{ 20\mathrm{mA} }[/math]

6.2.17 射频电磁场辐射抗扰度试验

6.2.17.1 试验步骤

6.2.17.1.1 将试样按 GB/T 17626.3 的规定进行试验布置,接通电源,使试样处于正常监视状态。

6.2.17.1.2 按GB/T16838中的要求,对试样施加表6所示条件的射频电磁场辐射干扰。

6.2.17.1.3 干扰期间,观察并记录试样工作状态。

6.2.17.1.4 干扰结束后,按5.3.3.2、5.3.4.2和5.3.8.3a)要求对试样进行功能测试。

6.2.17.2 试验设备

试验设备应满足GB/T17626.3的要求。

6.2.18 射频场感应的传导骚扰抗扰度试验

6.2.18.1 试验步骤

6.2.18.1.1 将试样按 GB/T 17626.6 的规定进行试验布置,接通电源,使试样处于正常监视状态。

6.2.18.1.2 按GB/T16838中的要求,对试样施加表6所示条件的射频场感应的传导骚扰。

6.2.18.1.3 干扰期间,观察并记录试样工作状态。

6.2.18.1.4 干扰结束后,按5.3.3.2、5.3.4.2和5.3.8.3a)要求对试样进行功能测试。

6.2.18.2 试验设备

试验设备应满足GB/T17626.6的要求。

6.2.19 静电放电抗扰度试验

6.2.19.1 试验步骤

6.2.19.1.1 将试样按 GB/T 17626.2 的规定进行试验布置,接通电源,使试样处于正常监视状态。

6.2.19.1.2 对绝缘体外壳的试样,实施空气放电;对导体外壳的试样,实施接触放电。

6.2.19.1.3 按GB/T16838中的要求,对试样施加表6所示条件的静电放电干扰。

6.2.19.1.4 干扰期间,观察并记录试样的工作状态。

6.2.19.1.5 干扰结束后,按5.3.3.2、5.3.4.2和5.3.8.3a)要求对试样进行功能测试。

6.2.19.2 试验设备

试验设备应满足GB/T17626.2的要求。

6.2.20 电快速瞬变脉冲群抗扰度试验

6.2.20.1 试验步骤

6.2.20.1.1 将试样按 GB/T 17626.4 的规定进行试验布置,接通电源,使试样处于正常监视状态。

6.2.20.1.2 按GB/T16838中的要求,对试样施加表6所示条件的电快速瞬变脉冲群干扰。

6.2.20.1.3 干扰期间,观察并记录试样工作状态。

6.2.20.1.4 干扰结束后,按5.3.3.2、5.3.4.2和5.3.8.3a)要求对试样进行功能测试。

6.2.20.2 试验设备

试验设备应满足GB/T17626.4的要求。

6.2.21 浪涌(冲击)抗扰度试验

6.2.21.1 试验步骤

6.2.21.1.1 将试样按 GB/T 17626.5 的规定进行试验布置,接通电源,使试样处于正常监视状态。

6.2.21.1.2 按GB/T16838中的要求,对试样施加表6所示条件的浪涌(冲击)干扰。

6.2.21.1.3 干扰期间,观察并记录试样工作状态。

6.2.21.1.4 干扰结束后,按5.3.3.2、5.3.4.2和5.3.8.3a)要求对试样进行功能测试。

6.2.21.2 试验设备

试验设备应满足GB/T17626.5的要求。

6.2.22 电源瞬变试验

6.2.22.1 试验步骤

6.2.22.1.1 连接试样到电源瞬变试验装置上,使其处于正常监视状态。

6.2.22.1.2 开启试验装置,使试样主电源按“通电(9s)~断电(1s)”的固定程序连续通断500次,试验期间,观察并记录试样的工作状态。

6.2.22.1.3 试验后,按5.3.3.2、5.3.4.2和5.3.8.3a)要求对试样进行功能测试。

6.2.22.2 试验设备

能产生满足表6电源瞬变试验要求试验条件的电源装置。

6.2.23 电压暂降、短时中断和电压变化的抗扰度试验

6.2.23.1 试验步骤

6.2.23.1.1 连接试样到电压暂降和短时中断试验装置上使其处于正常监视状态。

6.2.23.1.2 使主电压下滑至 [math]\displaystyle{ 40\% }[/math] ,持续 [math]\displaystyle{ 200~\mathrm{ms} }[/math] ,重复进行10次;再使主电压下滑至 [math]\displaystyle{ 0\mathrm{V} }[/math] ,持续 [math]\displaystyle{ 20~\mathrm{ms} }[/math] ,重复进行10次。试验期间,观察并记录试样的工作状态。

6.2.23.1.3 试验后,按5.3.3.2、5.3.4.2和5.3.8.3a)要求对试样进行功能测试。

6.2.23.2 试验设备

试验设备应满足GB/T17626.11的要求。

6.2.24 低温(运行)试验

6.2.24.1 试验步骤

6.2.24.1.1 试验前,将试样在正常大气条件下放置 [math]\displaystyle{ 2\mathrm{h}\sim 4\mathrm{h} }[/math] 。然后按正常监视状态要求,将试样与等效负载连接,接通电源。

6.2.24.1.2 调节试验箱温度,使其在 [math]\displaystyle{ (20\pm 2) }[/math] ℃ 温度下保持 [math]\displaystyle{ (30\pm 5) }[/math] min,然后,以不大于 [math]\displaystyle{ 1\mathrm{^{\circ}C / min} }[/math] 的速率,降温至 [math]\displaystyle{ (-10\pm 2) }[/math] ℃,并保持 [math]\displaystyle{ 16\mathrm{h} }[/math]

6.2.24.1.3 调节试验箱温度,使其以不大于 [math]\displaystyle{ 1^{\circ}\mathrm{C / min} }[/math] 的速率升温至 [math]\displaystyle{ (20\pm 2)^{\circ}\mathrm{C} }[/math] ,并保持 [math]\displaystyle{ (30\pm 5)\mathrm{min} }[/math]

6.2.24.1.4 取出试样,在正常大气条件下放置 [math]\displaystyle{ 1\mathrm{h}\sim 2\mathrm{h} }[/math] 后,检查试样表面涂覆情况,并按5.3.3.2、5.3.4.2和5.3.8.3a)要求对试样进行功能测试。

6.2.24.2 试验设备

试验设备应满足GB/T16838的要求。

6.2.25 恒定湿热(运行)试验

6.2.25.1 试验步骤

6.2.25.1.1 试验前,将试样在正常大气条件下放置 [math]\displaystyle{ 2\mathrm{h}\sim 4\mathrm{h} }[/math] 。然后按正常监视状态要求,将试样与等效负载连接,接通电源,使其处于正常监视状态。

6.2.25.1.2 调节试验箱,使温度为 [math]\displaystyle{ (40 \pm 2) \mathrm{C} }[/math] ,相对湿度为 [math]\displaystyle{ 93\% \pm 3\% }[/math] (先调节温度,当温度达到稳定后再加湿),连续保持 [math]\displaystyle{ 96 \mathrm{~h} }[/math]

6.2.25.1.3 取出试样,在正常大气条件下,处于正常监视状态 [math]\displaystyle{ 1\mathrm{h}\sim 2\mathrm{h} }[/math] 后,检查试样表面涂覆情况,并按5.3.3.2、5.3.4.2和5.3.8.3a)要求对试样进行功能测试。

6.2.25.2 试验设备

试验设备应满足GB/T16838的要求。

6.2.26 恒定湿热(耐久)试验

6.2.26.1 试验步骤

6.2.26.1.1 在不通电的情况下,将试样置于试验箱内。

6.2.26.1.2 调节试验箱,使温度为 [math]\displaystyle{ (40 \pm 2) \mathrm{C} }[/math] ,相对湿度为 [math]\displaystyle{ 93\% \pm 3\% }[/math] (先调节温度,当温度达到稳定后再加湿),连续保持 [math]\displaystyle{ 21 \mathrm{~d} }[/math]

6.2.26.1.3 取出试样,在正常大气条件下,恢复 [math]\displaystyle{ 12\mathrm{h} }[/math] 后,检查试样表面涂覆情况,并按5.3.3.2、5.3.4.2和5.3.8.3a)要求对试样进行功能测试。

6.2.26.2 试验设备

试验设备应满足GB/T16838的要求。

6.2.27 振动(正弦)(运行)试验

6.2.27.1 试验步骤

6.2.27.1.1 将试样按正常安装方式刚性安装,使同方向的重力作用与其使用时一样(重力影响可忽略时除外),试样在上述安装方式下可放于任何高度,试验期间试样处于正常监视状态。

6.2.27.1.2 依次在3个互相垂直的轴线上,在 [math]\displaystyle{ 10\mathrm{Hz}\sim 150\mathrm{Hz} }[/math] 的频率循环范围内,以 [math]\displaystyle{ 5\mathrm{m} / \mathrm{s}^2 }[/math] 的加速度幅值,1oct/min的扫频速率,各进行1次扫频循环。

6.2.27.1.3 试验后,检查试样外观及紧固部件,并按5.3.3.2、5.3.4.2和5.3.8.3a)要求对试样进行功能测试。

6.2.27.2 试验设备

试验设备应满足GB/T16838的要求。

6.2.28 碰撞试验

6.2.28.1 试验步骤

6.2.28.1.1 按正常监视状态要求,将试样与等效负载连接,接通电源,使其处于正常监视状态。

6.2.28.1.2 对试样表面上的每个易损部件(如指示灯、显示器等)施加3次能量为 [math]\displaystyle{ 0.5\mathrm{J} \pm 0.04\mathrm{J} }[/math] 的碰撞。在进行试验时应小心进行,以确保上一组(3次)碰撞的结果不对后续各组碰撞的结果产生影响,在认为可能产生影响时,不应考虑发现的缺陷,取一新的试样,在同一位置重新进行碰撞试验。试验期间,观察并记录试样的工作状态。

6.2.28.1.3 试验后,按5.3.3.2、5.3.4.2和5.3.8.3a)要求对试样进行功能测试。

6.2.28.2 试验设备

试验设备应满足GB/T16838的要求。

6.3 监测报警装置试验

6.3.1 试验程序

6.3.1.1 试验程序见表8。

6.3.1.2 生产企业应提供满足表8要求的试样数量,并提供与试样连接的控制装置。

6.3.1.3 试验前应按5.1、5.2、5.4.1和第8章的要求对试样进行试验前检查,满足要求后,进行电池热失控报警性能试验,试验结论为合格后方可进行后续其他试验。

6.3.1.4 对于不可调整响应阈值的试样,首先进行烟雾响应一致性试验,响应阈值最大的两只试样按17号、18号编号,其他试样随机编号。

6.3.1.5 对于可调整烟雾响应阈值的试样,首先调整全部试样的烟雾报警设定值为最大设定值,进行烟雾响应一致性试验,响应阈值最大的两只试样按17号、18号编号,其他试样随机编号。电解液火灾灵敏度试验应在试样最大响应阈值等级条件下进行试验,其他各项试样应在试样最小响应阈值等级条件下进行。

6.3.1.6 对于高温(运行)试验、低温(运行)试验和恒定湿热(运行)试验,不具有相应气体监测报警功能和压力监测性能的试样,对应编号的试样不进行试验。

表 8 监测报警装置试验程序
序号 章条 试验项目 试样编号
YJA型监测报警装置 JCA型~JCE型监测报警装置 JCF型~JCI型监测报警装置
1 6.3.2 电池热失控报警性能试验 19 23 19
2 6.3.3 试验前检查 1~18 1~22 1~18
3 6.3.4 基本性能试验 1~18 1~22 1~18
4 6.3.5 气体报警动作值试验 1~18 1~22 1~18
5 6.3.6 烟雾响应一致性试验 - 1~22 1~18
6 6.3.7 烟雾响应重复性试验 - 2 2
7 6.3.8 烟雾响应方位性能试验 - 3 -
8 6.3.9 动作温度试验 - 2、3 -
9 6.3.10 温度响应时间性能试验 - 19、20 -
10 6.3.11 高温响应性能试验 - 21、22 -
11 6.3.12 压力监测性能试验 1 1 -
12 6.3.13 电源参数波动性能试验 1 1 1
13 6.3.14 抗中毒性能试验 15、16 15、16 15、16
14 6.3.15 电解液火灾灵敏度试验 17、18 17、18 17、18
15 6.3.16 高温(运行)试验 4、5 4、5 4、5
16 6.3.17 低温(运行)试验 6、7 6、7 6、7
17 6.3.18 恒定湿热(运行)试验 8、9 8、9 8、9
18 6.3.19 冲击(运行)试验 2 10 2
19 6.3.20 振动(正弦)(运行)试验 3 11 3
20 6.3.21 振动(正弦)(耐久)试验 3 11 3
21 6.3.22 射频电磁场辐射抗扰度试验 10 10 10
22 6.3.23 射频场感应的传导骚扰抗扰度试验 11 11 11
23 6.3.24 静电放电抗扰度试验 12 12 12
24 6.3.25 电快速瞬变脉冲群抗扰度试验 13 13 13
25 6.3.26 浪涌(冲击)抗扰度试验 14 14 14
注:压力监测性能试验仅适用于具有该功能的试样;“-”表示为该项试验不适用。

6.3.2 电池热失控报警性能试验

对于可调整烟雾响应阈值的试样,将烟雾响应阈值设置为最小响应阈值等级条件,按附录G的要求进行电池热失控报警性能试验。

6.3.3 试验前检查

按5.1、5.2、5.4.1和8的要求进行外观、系统要求和通用要求检查。

6.3.4 基本性能试验

6.3.4.1 按5.4.2.1、5.4.2.2、5.4.2.3和5.4.2.4要求检查试样信号输出、尺寸和报警设定值等情况。

6.3.4.2 试样的气体传感器如采用插拔结构,检查其是否具有结构性的防脱落措施。移除气体传感器,检查并记录试样的故障状态指示情况。

6.3.4.3 吸气式监测报警装置,分别操作吸气装置停止转动、气体管路破漏或堵塞,检查其是否满足5.4.2.6的规定。

6.3.5 气体报警动作值试验

6.3.5.1 试验步骤

将试样安装于试验箱中,使其处于正常监视状态。启动通风机,使试验箱内气流速率稳定在 [math]\displaystyle{ 0.8\mathrm{m / s}\pm 0.2\mathrm{m / s} }[/math] ,再以不大于每分钟高限报警设定值 [math]\displaystyle{ 1\% }[/math] 的速率增加试验气体的浓度,直至试样发出报警信号,记录试样的报警动作值。

6.3.5.2 试验设备

试验设备应满足附录I的要求。

6.3.6 烟雾响应一致性试验

6.3.6.1 试验步骤

使试样处于正常监视状态,按5.4.4.1的要求依次测量所有试样的响应阈值。所有试样中,最大响应阈值用 [math]\displaystyle{ m_{\mathrm{max}} }[/math] 表示,最小响应阈值用 [math]\displaystyle{ m_{\mathrm{min}} }[/math] 表示。计算出所有试样响应阈值的平均值,用 [math]\displaystyle{ m_{\mathrm{rep}} }[/math] 表示。计算 [math]\displaystyle{ m_{\mathrm{max}}:m_{\mathrm{rep}}, m_{\mathrm{rep}}:m_{\mathrm{min}} }[/math]

6.3.6.2 试验设备

满足附录F要求的烟箱。

6.3.7 烟雾响应重复性试验

6.3.7.1 试验步骤

使试样处于正常监视状态,按5.4.4.3的要求测量试样响应阈值。最大响应阈值用 [math]\displaystyle{ m_{\mathrm{max}} }[/math] 表示,最小响应阈值用 [math]\displaystyle{ m_{\mathrm{min}} }[/math] 表示,计算 [math]\displaystyle{ m_{\mathrm{max}}:m_{\mathrm{min}} }[/math]

6.3.7.2 试验设备

满足附录F要求的烟箱。

6.3.8 烟雾响应方位性能试验

6.3.8.1 试验步骤

将试样安装到烟箱内,使试样处于正常监视状态,按5.4.4.1的要求测量试样的响应阈值。分别在试样的初始安装方位和旋转 [math]\displaystyle{ 180^{\circ} }[/math] 后的方位各测量1次响应阈值,最大响应阈值用 [math]\displaystyle{ m_{\mathrm{max}} }[/math] 表示,最小响应阈值用 [math]\displaystyle{ m_{\mathrm{min}} }[/math] 表示,计算 [math]\displaystyle{ m_{\mathrm{max}}:m_{\mathrm{min}} }[/math]

6.3.8.2 试验设备

满足附录F要求的烟箱。

6.3.9 动作温度试验

6.3.9.1 试验步骤

[math]\displaystyle{ 1^{\circ}\mathrm{C} / \mathrm{min} }[/math] 的升温速率升温至最高应用温度 [math]\displaystyle{ 65~\mathrm{^\circ C} }[/math] ,观察试样状态。然后,以不大于 [math]\displaystyle{ 0.2^{\circ}\mathrm{C} / \mathrm{min} }[/math] 的升温速率升温至试样动作。记录试样的动作温度。

6.3.9.2 试验设备

满足附录J要求的温箱。

6.3.10 温度响应时间性能试验

6.3.10.1 试验步骤

以不大于 [math]\displaystyle{ 1\mathrm{^{\circ}C / min} }[/math] 的升温速率升温至 [math]\displaystyle{ 40~^\circ \mathrm{C} }[/math] ,稳定 [math]\displaystyle{ 2\textrm{h} }[/math] 。分别以 [math]\displaystyle{ 3\mathrm{^{\circ}C / min} }[/math][math]\displaystyle{ 20\mathrm{^{\circ}C / min} }[/math] 的升温速率测量试样的响应时间。

6.3.10.2 试验设备

满足附录J要求的温箱。

6.3.11 高温响应性能试验

6.3.11.1 试验步骤

以不大于 [math]\displaystyle{ 1^{\circ}\mathrm{C} / \mathrm{min} }[/math] 的升温速率升温至 [math]\displaystyle{ 65^{\circ}\mathrm{C} }[/math] ,稳定 [math]\displaystyle{ 2\mathrm{h} }[/math] 。然后分别以 [math]\displaystyle{ 3^{\circ}\mathrm{C} / \mathrm{min} }[/math][math]\displaystyle{ 20^{\circ}\mathrm{C} / \mathrm{min} }[/math] 的升温速率升温至试样动作。分别记录试样在各升温速率下的响应时间。

6.3.11.2 试验设备

满足附录J要求的温箱。

6.3.12 压力监测性能试验

6.3.12.1 试验步骤

将试样安装于试验装置中,使其处于正常监视状态。启动真空泵,调节试验箱的压力为 [math]\displaystyle{ 50\mathrm{kPa} }[/math] ,稳定 [math]\displaystyle{ 5\mathrm{min} }[/math] ;然后以不大于 [math]\displaystyle{ 10\mathrm{kPa / min} }[/math] 的加压速率增加试验箱内压力,直至试样连接的控制装置发出预警信号,记录试样的报警动作值。

6.3.12.2 试验设备

满足附录K要求的压力监测性能试验装置。

6.3.13 电源参数波动性能试验

6.3.13.1 试验步骤

6.3.13.1.1 连接试样与控制装置,按生产企业规定的供电参数上下限值(如未规定,则上、下限参数分别为额定参数 [math]\displaystyle{ 110\% }[/math][math]\displaystyle{ 85\% }[/math] )调节控制装置供电电源。

6.3.13.1.2 在每种电源参数条件下,按5.4.3的要求测量试样的气体报警动作值;按5.4.4.1的要求测量试样的烟雾响应阈值;按5.4.6的要求测量试样的温度响应时间;按5.4.8的要求测量试样压力报警动作值。

6.3.13.2 试验设备

试验设备应能按控制装置供电参数上下限值调节控制的电源。

6.3.14 抗中毒性能试验

6.3.14.1 试验步骤

6.3.14.1.1 将两只试样分别放入两个容积为 [math]\displaystyle{ 100\mathrm{L} }[/math] 的密闭试验箱中,使试样处于正常监视状态。

6.3.14.1.2 向其中一个试验箱中注入体积为 [math]\displaystyle{ 10 \mu \mathrm{L} }[/math] 的六甲基二硅醚试剂,按照 I.2 规定的方法加热六甲基二硅醚试剂,待其完全蒸发后开始计时,保持 [math]\displaystyle{ 40 \mathrm{~min} }[/math] ,试验期间观察并记录试样状态。

6.3.14.1.3 向另一个试验箱中注入硫化氢气体,使气体浓度达到 [math]\displaystyle{ 10 \times 10^{-6} }[/math] (体积分数),保持 [math]\displaystyle{ 40 \mathrm{~min} }[/math] ,试验期间观察并记录试样状态。

6.3.14.1.4 条件试验结束后,将两只试样置于正常环境中工作 [math]\displaystyle{ 20\mathrm{min} }[/math] ,按6.3.5规定的试验方法测量两只试样的低限报警动作值。

6.3.14.2 试验设备

试验设备应满足附录I的要求。

6.3.15 电解液火灾灵敏度试验

6.3.15.1 试验步骤

6.3.15.1.1 按附录H的要求安装试样并通电,使试样处于正常监视状态。

6.3.15.1.2 在试验前,应使试样稳定工作 [math]\displaystyle{ 15 \mathrm{~min} }[/math] ,试验箱内应通风换气,直至热电偶、光学烟密度计和一氧化碳浓度计分别指示温度为 [math]\displaystyle{ (23 \pm 5) ^{\circ} \mathrm{C} }[/math] 、烟浓度 [math]\displaystyle{ m }[/math] 值小于 [math]\displaystyle{ 0.02 \mathrm{~dB} / \mathrm{m} }[/math] 、一氧化碳浓度小于 [math]\displaystyle{ 20 \times 10^{-6} }[/math] (体积分数)。

6.3.15.1.3 按附录H的要求点燃电解液,试验期间随时测量 [math]\displaystyle{ m }[/math] 值、氢气和一氧化碳浓度计。

6.3.15.2 试验设备

试验设备应满足附录H的要求。

6.3.16 高温(运行)试验

6.3.16.1 试验步骤

6.3.16.1.1 将试样放置于试验箱中, 使其处于正常监视状态。在正常大气条件下保持 [math]\displaystyle{ 1 \mathrm{h} }[/math] , 然后以不大于 [math]\displaystyle{ 1^{\circ} \mathrm{C} / \mathrm{min} }[/math] 的升温速率将温度升至表 4 规定的温度, 在此条件下稳定 [math]\displaystyle{ 2 \mathrm{h} }[/math] , 观察并记录试样的状态。

6.3.16.1.2 按照以下要求进行试验:

a) 在高温环境条件下, 按 6.3.5 的要求, 4 号试样立即进行一氧化碳或二氧化碳低限气体报警动作值试验, 5 号试样立即进行氢气低限气体报警动作值试验;

b)高温环境结束且气体报警动作值试验后,试样在正常大气条件下恢复 [math]\displaystyle{ 1\mathrm{h} }[/math] 以上;

c)4号试样按5.4.4.1的要求,测量试样的烟雾报警动作值,与该只试样在烟雾报警一致性试验中的烟雾报警动作值比较,较大值用 [math]\displaystyle{ m_{\mathrm{max}} }[/math] 表示,较小值用 [math]\displaystyle{ m_{\mathrm{min}} }[/math] 表示,计算 [math]\displaystyle{ m_{\mathrm{max}}:m_{\mathrm{min}} }[/math]

d)4号试样按6.3.10的要求,进行温度响应时间试验;

e)5号试样按6.3.12的要求,进行压力监测性能试验。

6.3.16.2 试验设备

试验设备应满足下列要求:

a)满足附录F要求的烟箱;

b)满足附录I要求的气体测试试验装置;

c)满足附录J要求的温箱;

d)满足附录K要求的压力监测性能试验装置。

6.3.17 低温(运行)试验

6.3.17.1 试验步骤

6.3.17.1.1 将试样放置于试验箱中, 使其处于正常监视状态。在正常大气条件下保持 [math]\displaystyle{ 1 \mathrm{h} }[/math] , 然后以不大于 [math]\displaystyle{ 1^{\circ} \mathrm{C} / \mathrm{min} }[/math] 的降温速率将温度降至表4规定的温度, 在此条件下稳定 [math]\displaystyle{ 2 \mathrm{h} }[/math] , 观察并记录试样的状态。

6.3.17.1.2 按照以下要求进行试验:

a) 在低温环境条件下, 按 6.3.5 的要求, 6 号试样立即进行一氧化碳或二氧化碳低限气体报警动作值试验, 7 号试样立即进行氢气低限气体报警动作值试验;

b)低温环境结束且气体报警动作值试验后,在正常大气条件下恢复 [math]\displaystyle{ 1\mathrm{h} }[/math] 以上;

c)6号试样按5.4.4.1的要求,测量试样的烟雾报警动作值,与该只试样在烟雾报警一致性试验中的烟雾报警动作值比较,较大值用 [math]\displaystyle{ m_{\mathrm{max}} }[/math] 表示,较小值用 [math]\displaystyle{ m_{\mathrm{min}} }[/math] 表示,计算 [math]\displaystyle{ m_{\mathrm{max}}:m_{\mathrm{min}} }[/math]

d)6号试样按6.3.10的要求,进行温度响应时间试验;

e)7号试样按6.3.12的要求,进行压力监测性能试验。

6.3.17.2 试验设备

试验设备应满足下列要求:

a)满足附录F要求的烟箱;

b)满足附录I要求的气体测试试验装置;

c)满足附录J要求的温箱;

d)满足附录K要求的压力监测性能试验装置。

6.3.18 恒定湿热(运行)试验

6.3.18.1 试验步骤

6.3.18.1.1 将试样放置于试验箱中,使其处于正常监视状态。在正常大气条件下保持 [math]\displaystyle{ 1 \mathrm{h} }[/math] ,然后调节试验箱至表4规定的温度和湿度(先调节温度,当温度达到稳定后再加湿),保持 [math]\displaystyle{ 2 \mathrm{h} }[/math]

6.3.18.1.2 按照以下要求进行试验:

a)在湿热环境条件下,按6.3.5的要求,8号试样立即进行一氧化碳或二氧化碳低限气体报警动作值试验,9号试样立即进行氢气低限气体报警动作值试验;

b)湿热环境结束且气体报警动作值试验后,试样在正常大气条件下恢复 [math]\displaystyle{ 1\mathrm{h} }[/math] 以上;

c)8号试样按5.4.4.1的要求,测量试样的烟雾报警动作值,与该只试样在烟雾报警一致性试验中的烟雾报警动作值比较,较大值用 [math]\displaystyle{ m_{\mathrm{max}} }[/math] 表示,较小值用 [math]\displaystyle{ m_{\mathrm{min}} }[/math] 表示,计算 [math]\displaystyle{ m_{\mathrm{max}}:m_{\mathrm{min}} }[/math]

d)8号试样按6.3.10的要求,进行温度响应时间试验;

e)9号试样按6.3.12的要求,进行压力监测性能试验。

6.3.18.2 试验设备

试验设备应满足下列要求:

a)满足附录F要求的烟箱;

b)满足附录I要求的气体测试试验装置;

c)满足附录J要求的温箱;

d)满足附录K要求的压力监测性能试验装置。

6.3.19 冲击(运行)试验

6.3.19.1 试验步骤

6.3.19.1.1 将试样安装面朝上,刚性安装在冲击试验台上,使试样处于正常监视状态,启动冲击试验台,按照表5规定的试验条件对试样进行冲击。冲击期间以及冲击结束后的 [math]\displaystyle{ 2\mathrm{min} }[/math] 内,观察并记录试样的工作状态。

6.3.19.1.2 冲击结束后,立即检查试样外观及紧固部位,进行以下试验:

a)按6.3.5的要求,立即进行低限气体报警动作值试验;

b)按5.4.4.1的要求,测量试样的烟雾报警动作值,与该只试样在烟雾报警一致性试验中的烟雾报警动作值比较,较大值用 [math]\displaystyle{ m_{\mathrm{max}} }[/math] 表示,较小值用 [math]\displaystyle{ m_{\mathrm{min}} }[/math] 表示,计算 [math]\displaystyle{ m_{\mathrm{max}}:m_{\mathrm{min}} }[/math]

c)按6.3.10的要求,进行温度响应时间试验;

d)按6.3.12的要求,进行压力监测性能试验。

6.3.19.2 试验设备

试验设备应满足下列要求:

a)满足附录F要求的烟箱;

b)满足附录I要求的气体测试试验装置;

c)满足附录J要求的温箱;

d) 满足附录K要求的压力监测性能试验装置;

e)满足GB/T16838要求的冲击试验台。

6.3.20 振动(正弦)(运行)试验

6.3.20.1 试验步骤

6.3.20.1.1 将试样安装面朝上,刚性安装在振动试验台上,使试样处于正常监视状态,启动振动试验台,在 [math]\displaystyle{ 10\mathrm{Hz} \sim 150\mathrm{Hz} }[/math] 的频率循环范围内,以 [math]\displaystyle{ 10\mathrm{m/s^2} }[/math] 的加速度幅值、1倍频程每分的扫频速率,在垂直于试样安装使用面的轴线上进行1次扫频循环。观察并记录试样状态。

6.3.20.1.2 振动结束后,立即检查试样外观及紧固部位,进行以下试验:

a)按6.3.5的要求,立即进行低限气体报警动作值试验;

b)按5.4.4.1的要求,测量试样的烟雾报警动作值,与该只试样在烟雾报警一致性试验中的烟雾报警动作值比较,较大值用 [math]\displaystyle{ m_{\mathrm{max}} }[/math] 表示,较小值用 [math]\displaystyle{ m_{\mathrm{min}} }[/math] 表示,计算 [math]\displaystyle{ m_{\mathrm{max}}:m_{\mathrm{min}} }[/math]

c)按6.3.10的要求,进行温度响应时间试验;

d) 按6.3.12的要求,进行压力监测性能试验。

6.3.20.2 试验设备

试验设备应满足下列要求:

a)满足附录F要求的烟箱;

b)满足附录I要求的气体测试试验装置;

c)满足附录J要求的温箱;

d)满足附录K要求的压力监测性能试验装置;

e)满足GB/T16838要求的振动试验台。

6.3.21 振动(正弦)(耐久)试验

6.3.21.1 试验步骤

6.3.21.1.1 将试样安装面朝上,刚性安装在振动试验台上,试验期间,试样不通电。启动振动试验台,在 [math]\displaystyle{ 10\mathrm{Hz} \sim 150\mathrm{Hz} }[/math] 的频率循环范围内,以 [math]\displaystyle{ 10\mathrm{m/s}^2 }[/math] 的加速度幅值、1倍频程每分的扫频速率,在垂直于试样安装使用面的轴线上进行20次扫频循环。观察并记录试样状态。

6.3.21.1.2 振动结束后,立即检查试样外观及紧固部位,接通试样电源,进行以下试验:

a)按6.3.5的要求,立即进行低限气体报警动作值试验;

b)按5.4.4.1的要求,测量试样的烟雾报警动作值,与该只试样在烟雾报警一致性试验中的烟雾报警动作值比较,较大值用 [math]\displaystyle{ m_{\mathrm{max}} }[/math] 表示,较小值用 [math]\displaystyle{ m_{\mathrm{min}} }[/math] 表示,计算 [math]\displaystyle{ m_{\mathrm{max}}:m_{\mathrm{min}} }[/math]

c)按6.3.10的要求,进行温度响应时间试验;

d)按6.3.12的要求,进行压力监测性能试验。

6.3.21.2 试验设备

试验设备应满足下列要求:

a)满足附录F要求的烟箱;

b)满足附录I要求的气体测试试验装置;

c)满足附录J要求的温箱;

d)满足附录K要求的压力监测性能试验装置;

e)满足GB/T16838要求的振动试验台。

6.3.22 射频电磁场辐射抗扰度试验

6.3.22.1 试验步骤

6.3.22.1.1 将试样按 GB/T 17626.3 的规定进行试验布置,使试样处于正常监视状态。

6.3.22.1.2 按 GB/T 17626.3 中规定的试验方法对试样施加表 6 所示条件下的干扰试验,其间观察并记录试样状态。

6.3.22.1.3 干扰结束后,进行以下试验:

a)按6.3.5的要求,立即进行低限气体报警动作值试验;

b)按5.4.4.1的要求,测量试样的烟雾报警动作值,与该只试样在烟雾报警一致性试验中的烟雾报警动作值比较,较大值用 [math]\displaystyle{ m_{\mathrm{max}} }[/math] 表示,较小值用 [math]\displaystyle{ m_{\mathrm{min}} }[/math] 表示,计算 [math]\displaystyle{ m_{\mathrm{max}}:m_{\mathrm{min}} }[/math]

c)按6.3.10的要求,进行温度响应时间试验;

d) 按6.3.12的要求,进行压力监测性能试验。

6.3.22.2 试验设备

试验设备应满足下列要求:

a)满足附录F要求的烟箱;

b)满足附录I要求的气体测试试验装置;

c)满足附录J要求的温箱;

d)满足附录K要求的压力监测性能试验装置;

e)满足GB/T17626.3要求的试验装置。

6.3.23 射频场感应的传导骚扰抗扰度试验

6.3.23.1 试验步骤

6.3.23.1.1 将试样按 GB/T 17626.6 的规定进行试验布置,使试样处于正常监视状态。

6.3.23.1.2 按 GB/T 17626.6 中规定的试验方法对试样施加表 6 所示条件下的干扰试验,期间观察并记录试样状态。

6.3.23.1.3 干扰结束后,进行以下试验:

a)按6.3.5的要求,立即进行低限气体报警动作值试验;

b)按5.4.4.1的要求,测量试样的烟雾报警动作值,与该只试样在烟雾报警一致性试验中的烟雾报警动作值比较,较大值用 [math]\displaystyle{ m_{\mathrm{max}} }[/math] 表示,较小值用 [math]\displaystyle{ m_{\mathrm{min}} }[/math] 表示,计算 [math]\displaystyle{ m_{\mathrm{max}}:m_{\mathrm{min}} }[/math]

c)按6.3.10的要求,进行温度响应时间试验;

d) 按6.3.12的要求,进行压力监测性能试验。

6.3.23.2 试验设备

试验设备应满足下列要求:

a)满足附录F要求的烟箱;

b)满足附录I要求的气体测试试验装置;

c)满足附录J要求的温箱;

d)满足附录K要求的压力监测性能试验装置;

e)满足GB/T17626.6要求的试验装置。

6.3.24 静电放电抗扰度试验

6.3.24.1 试验步骤

6.3.24.1.1 将试样按 GB/T 17626.2 的规定进行试验布置,使试样处于正常监视状态。

6.3.24.1.2 按 GB/T 17626.2 中规定的试验方法对试样施加表 6 所示条件下的干扰试验, 其间观察并记录试样状态。

6.3.24.1.3 干扰结束后,进行以下试验:

a)按6.3.5的要求,立即进行低限气体报警动作值试验;

b)按5.4.4.1的要求,测量试样的烟雾报警动作值,与该只试样在烟雾报警一致性试验中的烟雾报警动作值比较,较大值用 [math]\displaystyle{ m_{\mathrm{max}} }[/math] 表示,较小值用 [math]\displaystyle{ m_{\mathrm{min}} }[/math] 表示,计算 [math]\displaystyle{ m_{\mathrm{max}}:m_{\mathrm{min}} }[/math]

c)按6.3.10的要求,进行温度响应时间试验;

d) 按6.3.12的要求,进行压力监测性能试验。

6.3.24.2 试验设备

试验设备应满足下列要求:

a)满足附录F要求的烟箱;

b)满足附录I要求的气体测试试验装置;

c)满足附录J要求的温箱;

d)满足附录K要求的压力监测性能试验装置;

e)满足GB/T17626.2要求的试验装置。

6.3.25 电快速瞬变脉冲群抗扰度试验

6.3.25.1 试验步骤

6.3.25.1.1 将试样按 GB/T 17626.4 的规定进行试验布置,使试样处于正常监视状态。

6.3.25.1.2 按 GB/T 17626.4 中规定的试验方法对试样施加表 6 所示条件下的干扰试验,期间观察并记录试样状态。

6.3.25.1.3 干扰结束后,进行以下试验:

a)按6.3.5的要求,立即进行低限气体报警动作值试验;

b)按5.4.4.1的要求,测量试样的烟雾报警动作值,与该只试样在烟雾报警一致性试验中的烟雾报警动作值比较,较大值用 [math]\displaystyle{ m_{\mathrm{max}} }[/math] 表示,较小值用 [math]\displaystyle{ m_{\mathrm{min}} }[/math] 表示,计算 [math]\displaystyle{ m_{\mathrm{max}}:m_{\mathrm{min}} }[/math]

c)按6.3.10的要求,进行温度响应时间试验;

d) 按6.3.12的要求,进行压力监测性能试验。

6.3.25.2 试验设备

试验设备应满足下列要求:

a)满足附录F要求的烟箱;

b)满足附录I要求的气体测试试验装置;

c)满足附录J要求的温箱;

d)满足附录K要求的压力监测性能试验装置;

e)满足GB/T17626.4要求的试验装置。

6.3.26 浪涌(冲击)抗扰度试验

6.3.26.1 试验步骤

6.3.26.1.1 将试样按 GB/T 17626.5 的规定进行试验布置,使试样处于正常监视状态。

6.3.26.1.2 按 GB/T 17626.5 中规定的试验方法对试样施加表 6 所示条件下的干扰试验,期间观察并记录试样状态。

6.3.26.1.3 干扰结束后,进行以下试验:

a)按6.3.5的要求,立即进行低限气体警动作值试验;

b)按5.4.4.1的要求,测量试样的烟雾报警动作值,与该只试样在烟雾报警一致性试验中的烟雾报警动作值比较,较大值用 [math]\displaystyle{ m_{\mathrm{max}} }[/math] 表示,较小值用 [math]\displaystyle{ m_{\mathrm{min}} }[/math] 表示,计算 [math]\displaystyle{ m_{\mathrm{max}}:m_{\mathrm{min}} }[/math]

c)按6.3.10的要求,进行温度响应时间试验;

d)按6.3.12的要求,进行压力监测性能试验。

6.3.26.2 试验设备

试验设备应满足下列要求:

a)满足附录F要求的烟箱;

b)满足附录I要求的气体测试试验装置;

c)满足附录J要求的温箱;

d)满足附录K要求的压力监测性能试验装置;

e)满足GB/T17626.5要求的试验装置。

7 检验规则

7.1 产品出厂检验

7.1.1 控制装置产品出厂前应进行下列试验项目的检验:

a)气体监测预警功能;

b)火灾监测报警功能试验;

c)控制功能试验;

d)气体灭火控制和显示功能试验;

e)故障报警功能试验;

f)绝缘电阻试验;

g)泄漏电流试验。

7.1.2 监测报警装置产品出厂前应进行下列试验项目的检验:

a)基本性能试验;

b)气体报警动作值试验;

c)烟雾响应重复性试验;

d)温度响应时间性能试验;

e)压力监测性能试验。

7.1.3 生产企业应规定抽样方法、检验和判定规则。

7.2 型式检验

7.2.1 型式检验项目为第6章规定的试验项目。

7.2.2 有下列情况之一时,应进行型式检验:

a)新产品或老产品转厂生产的试制定型鉴定;

b)产品的设计、结构、材料、零部件、元器件、生产工艺、生产条件等发生改变,可能影响产品质量;

c)产品标准规定的技术要求发生变化;

d) 停产一年及以上恢复生产;

e)产品质量监督部门提出进行型式检验要求;

f)其他通过型式检验才能证明产品质量的情况。

7.2.3 检验结果按GB12978中规定的型式检验结果判定方法进行判定。

8 标志和包装

8.1 产品标志

8.1.1 每台控制装置均应清晰地标注下列信息:

a)产品名称和型号;

b)产品执行的标准编号;

c)生产者名称、地址,生产企业名称、地址;

d) 制造日期和产品编号;

e)产品主要技术参数(供电方式及参数、控制装置内软件版本号)。

8.1.2 每台监测报警装置均应清晰地标注下列信息:

a)产品名称和型号;

b)产品执行的标准编号;

c)生产者名称、地址,生产企业名称、地址;

d) 制造日期和产品编号;

e)产品主要技术参数(供电方式及参数、监测气体类型、报警设定值及使用环境温度范围)。

8.1.3 产品标志信息中如使用不常用符号或缩写时,应在使用说明书中注明。

8.2 质量检验标志

每台控制装置、监测报警装置均应有清晰的质量检验合格标志。

8.3 包装

8.3.1 控制装置和监测报警装置应具备产品出厂时的完整包装,防止在正常的运输、搬运和贮存条件下对产品造成机械损伤,其中监测报警装置应密封包装。

8.3.2 产品包装内应有中文使用说明书,控制装置和监测报警装置说明书的内容应满足GB/T9969的要求。

附录A

(资料性)

系统及设备

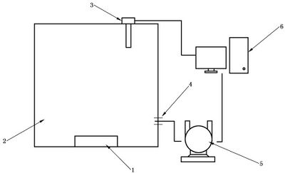
A.1 系统分类——A类电化学储能电站火灾监测预警系统

一般应用于户储或较小容量的储能设备/装置,系统配置独立式监测报警控制装置以及与其连接的传感器,传感器类型有温度、烟雾、压力、气体以及其他类型传感器,系统组成如图A.1所示。

文件:01e9c252612b65c05c8ea019365d43e027077b98d19e5734b01268cd74ff5daf.jpg
图A.1 A类储能电站火灾监测预警系统组成

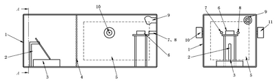
A.2 系统分类——B类电化学储能电站火灾监测预警系统

一般应用于工商业储能等小型储能装置/电站,系统由独立型控制装置、监测报警装置、火灾声光警报器组成,设有手动火灾报警按钮、其他火灾报警触发器件、可燃气体探测器等产品。独立型控制装置具有气体灭火控制 and 显示功能时,系统内还有气体释放警报器。系统组成如图A.2所示。

文件:695f96d17bc83716e16f48b86789823efe58f3ff6e62a867faf79f94cb215a2c.jpg
图A.2 B类储能电站火灾监测预警系统组成

A.3 系统分类——C类电化学储能电站火灾监测预警系统

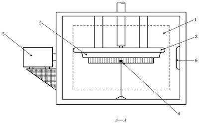
一般应用于大型储能电站,系统由集中型控制装置、区域型控制装置、监测报警装置、手动火灾报警按钮、火灾声光警报器组成,设有其他火灾报警触发器件、可燃气体探测器等产品。区域型控制装置一般安装于电池舱,集中型控制装置一般放置于储能电站控制室,用于接收各区域型控制装置的信息并向区域型控制装置下达指令。区域型控制装置具有气体灭火控制和显示功能时,系统内还有气体释放警报器。系统组成如图A.3所示。

文件:9f9ab9f3aa08c9d07b280e39fad520be02a9d015981729e91b60606d2e4782cf.jpg
图A.3 C类储能电站火灾监测预警系统组成

附录B

(规范性) 
产品型号 

B.1 产品型号代码

产品型号由企业代码、类别代码、产品代码和自定义代码组成。企业代码不应大于4位,类别代码应符合表B.1的规定,产品代码应符合表B.2和表B.3的规定,自定义代码应由生产企业自行规定。

表 B. 1 类别代码

类别代码 含义
C 控制装置
T 监测报警装置

表 B.2 控制装置的产品代码

产品代码 含义
独立式监测报警控制装置
独立型
区域型
集中型
集中区域兼容型

表 B.3 监测报警装置的产品代码

产品代码 含义 代码类型
YJA 传感器类型 电化学储能电站气体监测预警装置 *
JCA 电化学储能电站一氧化碳和感烟感温复合火灾监测报警装置 *
JCB 电化学储能电站氢气和感烟感温复合火灾监测报警装置 *
JCC 电化学储能电站氢气、一氧化碳和感烟感温复合火灾监测报警装置 *
JCD 电化学储能电站二氧化碳和感烟感温复合火灾监测报警装置 *
JCE 电化学储能电站氢气、二氧化碳和感烟感温复合火灾监测报警装置 *
JCF 电化学储能电站吸气式一氧化碳和感烟复合气体监测报警装置 *
JCG 电化学储能电站吸气式氢气、一氧化碳和感烟复合气体监测报警装置 *
JCH 电化学储能电站吸气式二氧化碳和感烟复合气体监测报警装置 *
JCI 电化学储能电站吸气式氢气、二氧化碳和感烟复合气体监测报警装置 *
F 适用的储能电站类型 适用于风冷电化学储能电站的监测报警装置 *
Y 适用于液冷电化学储能电站的监测报警装置 *
PT 适用环境 普通型 *
TZ 特种型 *
X 吸气式 -
注:代码类型*为必选代码,一为可选代码。

B.2 型号编制方法

型号编制方法如图B.1所示。

文件:9e67602215dfceeb0916c97347a44d49c7590c1ab3df1057882eb02bd349c733.jpg
图B.1 型号编制方法

示例1:

控制装置:中华公司生产的集中区域兼容型控制装置。该产品的型号命名为ZH-C-V。

示例2:

监测报警装置:中华公司生产的监测报警装置,按传感器分类为JCA型,按适用的电化学储能电站类型为风冷型,按适用环境为普通型,按工作方式为非吸气式。该产品的型号命名为ZH-T-JCAFPT。

附录C

(规范性)

兼容性要求

C.1 通用要求

C.1.1 系统内控制装置配接其他生产企业监测报警装置或火灾自动报警系统组件时,相关产品应采用经过检验检测机构检验合格的产品。

C.1.2 控制装置配接的点型感烟火灾探测器、点型感温火灾探测器、手动火灾报警按钮、火灾声光警报器、可燃气体探测器、模块等应满足相应产品标准的要求。

C.1.3 控制装置和监测报警装置按 C.2 要求进行兼容性和可连接性试验, 系统内其他组件按 GB 22134 要求进行兼容性和可连接性试验。

C.2 兼容性和可连接性试验

C.2.1 控制装置按本文件要求进行以下试验项目:

a)气体监测预警功能试验(配接可燃气体探测器时);

b)火灾监测报警功能试验(配接火灾探测器、火灾声光警报器时);

c)控制功能试验(配接火灾声光警报器、模块时);

d)故障报警功能试验;

e)射频场感应的传导骚扰抗扰度试验;

f)电快速瞬变脉冲群抗扰度试验;

g) 浪涌(冲击)抗扰度试验。

C.2.2 监测报警装置按本文件要求进行以下试验项目:

a)气体报警动作值试验;

b)烟雾响应一致性试验(适用时);

c)动作温度试验(适用时);

d)温度响应时间性能试验(适用时);

e)压力监测性能试验(适用时);

f)射频场感应的传导骚扰抗扰度试验;

g) 电快速瞬变脉冲群抗扰度试验;

h) 浪涌(冲击)抗扰度试验。

附录D

(规范性)

控制装置外壳燃烧性能

D.1 要求

控制装置外壳为非金属材料时,在控制装置外壳上切割长 [math]\displaystyle{ 80\text{ mm} }[/math] 、宽 [math]\displaystyle{ 10\text{ mm} }[/math] 的样块,按照D.2的要求进行试验。试验后,样块的燃烧长度不应超过 [math]\displaystyle{ 50\text{ mm} }[/math]

D.2 试验

D.2.1 试验步骤

D.2.1.1 在控制装置外壳上切割长 [math]\displaystyle{ 80\text{ mm} }[/math] 、宽 [math]\displaystyle{ 10\text{ mm} }[/math] 的样块。

D.2.1.2 将样块固定在向上流动的氧气、氮气混合气体的透明燃烧筒里,调节氧气和氮气的流量,使燃烧筒内的气流为 [math]\displaystyle{ 40\text{ mm/s} \pm 2\text{ mm/s} }[/math] ,氧气含量为 [math]\displaystyle{ 28\% }[/math]

D.2.1.3 将火焰的最低部分施加于样块的顶面,如需要,可覆盖整个顶面,但不能使火焰对着样块的垂直面或棱。施加火焰 [math]\displaystyle{ 30\text{ s} }[/math] ,每隔 [math]\displaystyle{ 5\text{ s} }[/math] 移开一次,移开时恰好有足够时间观察样块的整个顶面是否处于燃烧状态。

D.2.1.4 在每增加 [math]\displaystyle{ 5\text{ s} }[/math] 后,观察整个样块顶面持续燃烧,立即移开点火器,并观察样块的燃烧特性,样块停止燃烧后,测量样块的燃烧长度。

D.2.2 试验设备

D.2.2.1 试验燃烧筒

试验燃烧筒由一个垂直固定在基座上,并可导入含氧混合气体的耐热玻璃筒组成(见图D.1和图D.2)。

优选的燃烧筒尺寸为高度 [math]\displaystyle{ (500 \pm 50)\text{ mm} }[/math] ,内径 [math]\displaystyle{ (75 \sim 100)\text{ mm} }[/math]

燃烧筒顶端具有限流孔,排出气体的流速至少为 [math]\displaystyle{ 90\text{ mm/s} }[/math]

注:直径 [math]\displaystyle{ 40\text{ mm} }[/math] ,高出燃烧筒至少 [math]\displaystyle{ 10\text{ mm} }[/math] 的收缩口能满足要求。

如能获得相同结果,有或无限流孔的其他尺寸燃烧筒也可使用。燃烧筒底部或支撑筒的基座上应安装使进入的混合气体分布均匀的装置。推荐使用含有易扩散并具有金属网的混合室。如果同类型多用途的其他装置能获得相同结果也可使用。应在低于试样夹持器水平面上安装一个多孔隔网,以防止下落的燃烧碎片堵塞气体入口和扩散通道。

燃烧筒的支座应安有调平装置或水平指示器,以使燃烧筒和安装在其中的试样垂直对中。为便于对燃烧筒中的火焰进行观察,可提供深色背景。

D.2.2.2 试样夹

试样夹用于燃烧筒中央垂直支撑试样。

对于自撑材料,夹持处离开判断试样可能燃烧到的最近点至少 [math]\displaystyle{ 15\text{ mm} }[/math] 。对于薄膜和薄片,使用如图D.2所示框架,由两垂直边框支撑试样,离边框顶端 [math]\displaystyle{ 20\text{ mm} }[/math][math]\displaystyle{ 100\text{ mm} }[/math] 处画标线。

夹具和支撑边框应平滑,以使上升气流受到的干扰最小。

D.2.2.3 气源

气源可采用纯度(质量分数)不低于 [math]\displaystyle{ 98\% }[/math] 的氧气和/或氮气,和/或清洁的空气[含氧气 [math]\displaystyle{ 20.9\% }[/math] (体积分数)]作为气源。

除非试验结果对混合气体中较高的含湿量不敏感,否则进入燃烧筒混合气体的含湿量应小于 [math]\displaystyle{ 0.1\% }[/math] (质量分数)。如果所供气体的含湿量不符合要求,则气体供应系统应配有干燥设备,或配有含湿量的检测和取样装置。

气体供应管路的连接应使混合气体在进入燃烧筒基座的配气装置前充分混合,以使燃烧筒内处于试样水平面以下的上升混合气的氧浓度的变化小于 [math]\displaystyle{ 0.2\% }[/math] (体积分数)。

注:氧气和氮气瓶中的含湿量(质量分数)不一定小于 [math]\displaystyle{ 0.1\% }[/math] 。纯度(质量分数) [math]\displaystyle{ \geq 98\% }[/math] 的商业瓶装气的含湿量(质量分数)是 [math]\displaystyle{ 0.003\% \sim 0.01\% }[/math] ,但这样的瓶装气减压到大约 [math]\displaystyle{ 1\text{ MPa} }[/math] 时,气体含湿量能升到 [math]\displaystyle{ 0.1\% }[/math] 以上。

文件:61e6ce35ba47b377a3e0f8f5a6df680f90c3579122a156dbdfe1a4b2b7cf88aa.jpg
图D.1 外壳燃烧性能试验设备

标引序号说明:

1——气体预混点;

2——截止阀;

3—接口;

4——压力表;

5——精密压力调节器;

6——过滤器;

7——针型阀;

8——气体流量计。

单位为毫米

文件:76c319f50943120adcae1d8b2d7f7d85ad74772ba590411cffe393969721f37c.jpg
图D.2 非自撑试样的支撑框架
文件:3a3b98b457a60197b1473a9125556fc70191fe23b8ab6408fc41f0af36db18c9.jpg
文件:665c3b3d788a7a478cfe915dce213b4ec8b5b50a3cbf9da4588b8e14d59fbeb7.jpg

注:试样牢固地夹在不锈钢制造的两个垂直向上的叉子之间。

D.2.2.4 气体测量和控制装置

适于测量进入燃烧筒内混合气体的氧浓度(体积分数),准确至 [math]\displaystyle{ \pm 0.5\% }[/math] 。当在 [math]\displaystyle{ 23\,^{\circ}\text{C} \pm 2\,^{\circ}\text{C} }[/math] 通过燃烧筒的气流为 [math]\displaystyle{ 40\text{ mm/s} \pm 2\text{ mm/s} }[/math] 时,调节浓度的精度为 [math]\displaystyle{ \pm 0.1\% }[/math]

应提供检测方法,确保进入燃烧筒内混合气体的温度为 [math]\displaystyle{ 23\,^{\circ}\text{C} \pm 2\,^{\circ}\text{C} }[/math] 。如有内部探头,则该探头的位置与外形设计应使燃烧筒内的扰动最小。

注:较适宜的测量系统或控制系统包括下列部件:

a)在各个供气管路和混合气管路上的针形阀,能连续取样的顺磁氧分析仪(或等效的分析仪)和一个能指示通过燃烧筒内气流流速在要求范围内的流量计;

b)在各个供气管路上经校准的接口、气体压力调节器和压力表;

c)在各个供气管路上针形阀和经校准的流量计。

系统b)和c)组装后应经过校准,以确保组合部件的合成误差不超过D.2.2.4的要求。

D.2.2.5 点火器

由一根末端直径为 [math]\displaystyle{ 2\text{ mm} \pm 1\text{ mm} }[/math] 能插入燃烧筒并喷出火焰点燃试样的管子构成。

火焰的燃料应为未混有空气的丙烷。当管子垂直插入时,应调节燃料供应量以使火焰从出口垂直向下喷射 [math]\displaystyle{ 16\text{ mm} \pm 4\text{ mm} }[/math]

D.2.2.6 计时器

测量时间可达 [math]\displaystyle{ 5\text{ min} }[/math] ,准确度 [math]\displaystyle{ \pm 0.5\text{ s} }[/math]

D.2.2.7 排烟系统

有通风和排风设施,能排除燃烧筒内的烟尘或灰粒,但不能干扰燃烧筒内气体流速和温度。

注:如果试验发烟材料,清洁玻璃燃烧筒,以确保良好的可视性。对于气体入口、入口隔网和温度传感器也应清洁,以使其功能良好。采取适当的防护措施,以免人员在试验或清洁操作中受毒性材料伤害或遭灼伤。

D.2.2.8 制备薄膜卷筒的工具

由一根直径为 [math]\displaystyle{ 2\text{ mm} }[/math] 一端带有一个狭缝的不锈钢杆构成,见图D.3。

单位为毫米

文件:A6ec6ef0ee4bcc17c4b3bc930287e22641c9cb33744f19cc093a105c94a53ea4.jpg
图D.3 薄膜试样制备工具

附录E

(规范性)

控制装置运行数据存储单元

E.1 要求

E.1.1 数据记录功能

E.1.1.1 控制装置运行数据存储单元应能记录如下系统运行状态信息:

a)控制装置的火灾报警信息、气体报警信息、监管信息、故障信息、手动/自动状态信息等消防设备运行状态信息;

b)信息确认按钮(键)、联动启动控制按钮(键)的动作信息;

c)控制装置灭火启动信息、反馈信息、手动/自动状态信息等灭火动作状态信息;

d)控制装置的开、关机和复位、时钟调整的操作信息;

e) 集中型控制装置所连接区域型控制装置的 a)~d) 规定的信息。

E.1.1.2 控制装置每产生一次新的数据记录的同时,控制装置运行数据存储单元应同步记录对应的年、月、日、时、分、秒等时间信息;并应具有按照时间顺序提供导出记录信息的功能。

E.1.1.3 控制装置运行数据存储单元应有防止存储信息被更改或删除的功能。

E.1.2 数据存储功能

E.1.2.1 系统应明确控制装置连接的监测报警装置、火灾报警触发器件和消防联动设备的数目。运行数据存储单元的存储容量满足下列要求:

a)区域型控制装置记录的报警信息数目不应小于控制装置连接的监测报警装置、火灾报警触发器件数目的100倍,记录的消防设备运行状态信息数目不小于控制装置连接的监测报警装置、火灾报警触发器件与消防联动设备数目之和的200倍;

b)集中型控制装置应能记录本机及与其连接的所有区域型控制装置的运行状态信息。

E.1.2.2 运行数据存储单元不应采用断电丢失数据的存储器,应至少保存 [math]\displaystyle{ 30\text{ d} }[/math] 的消防设备运行状态信息。存储信息超出运行数据存储单元的记录容量后,应始终保持最新的状态信息记录。首火警信息、首气体报警信息、火灾报警信息、气体报警信息和故障信息应独立记录,其他消防设备运行状态信息不应覆盖首火警信息、首气体报警信息、火灾报警信息、气体报警信息和故障信息。

E.1.2.3 控制装置运行数据存储单元应采用十六进制格式进行数据存储,数据存储格式见表E.1,数据信息格式见表E.2。

E.1.3 数据导出功能

E.1.3.1 应仅能用专用技术手段将控制装置运行数据存储单元记录的信息导出。数据导出格式与数据储存格式相同,见表 E.1,数据信息格式见表 E.2。

E.1.3.2 应至少提供USB B型接口(母口)或USB C型接口(母口)进行数据导出,USB接口应支持USB2.0标准的从机模式(Device)。

E.1.3.3 数据导出命令格式及定义见表E.3和表E.4。

表 E.1 数据导出与数据存储格式

定义 描述
起始符(1字节) 第1字节,固定值0x40
记录总数(3字节) 第2字节~第4字节,数据记录总的数量
地址(1字节) 第5字节,控制装置的地址
类型(2字节) 第6字节、第7字节,控制装置的类型代码,具体定义见表E.5
产品编号(20字节) 第8字节~第27字节,控制装置的产品编号
数据信息1 第28字节开始,具体的数据信息,格式见表E.2
数据信息2
......
数据信息n
CRC16校验值(2字节) 以上所有数据进行CRC16校验后形成的校验数据。低字节在前,CRC16多项式为0xA001
停止符(1字节) 固定值0x40

表 E.2 数据信息格式

定义 描述
控制装置编号(2字节) 控制装置编号
单元编号(1字节) 单元编号
设备编号(1字节) 设备编号
通道编号(1字节) 通道编号
设备类型代码(2字节) 设备类型代码,见表E.5
事件代码(2字节) 事件代码,见表E.6
状态代码(2字节) 状态代码,见表E.7
年(1字节) 事件发生的时间年,事件发生的年份减2000
月(1字节) 事件发生的时间月
日(1字节) 事件发生的时间日
时(1字节) 事件发生的时间时
分(1字节) 事件发生的时间分
秒(1字节) 事件发生的时间秒

表 E.3 数据导出命令格式

定义 描述
起始符(1字节) 第1字节,固定值0x40
数据导出装置识别码(8字节) 第2字节~第9字节,数据导出装置识别码,识别数据导出装置的权限
版本号(1字节) 第10字节,数据命令版本号,固定值为2
地址(1字节) 第11字节,数据导出专用工具地址,固定为0x7E
类型(1字节) 第12字节,数据导出专用工具代码,固定为0x7F
命令长度(1字节) 第13字节,导出命令的长度,见表E.4
命令数据(1字节) 第14字节开始,具体的命令数据,见表E.4
CRC16校验值(2字节) 以上所有数据进行CRC16校验后形成的校验数据。低字节在前,CRC16多项式为0xA001
停止符(1字节) 固定值0x40

表 E.4 数据导出命令定义

命令定义 命令说明 命令长度 命令数据
数据读 读控制装置运行数据存储单元1条数据 1 1
数据重发 接收信息错误、超时,要求数据重新发送 1 2
数据读首火警信息 读控制装置运行数据存储单元1条首火警数据 1 3
数据读火警信息 读控制装置运行数据存储单元1条火警数据 1 4
数据读首气体报警信息 读控制装置运行数据存储单元1条首气体报警数据 1 5
数据读气体报警信息 读控制装置运行数据存储单元1条气体报警数据 1 6

E.1.4 数据安全保护功能

E.1.4.1 控制装置运行数据存储单元数据的存储不受控制装置工作状态的影响。

E.1.4.2 控制装置运行数据存储单元应在授权后才能导出和回放存储的信息。

E.1.4.3 控制装置运行数据存储单元应能承受标称工作电压的 [math]\displaystyle{ 120\% }[/math] 的反向工作电压 [math]\displaystyle{ 1\text{ min} }[/math] ,试验后数据记录、存储及导出功能正常。

E.1.4.4 在控制装置断电后,控制装置运行数据存储单元应自动进入保护状态,断电前存储的数据应保持 [math]\displaystyle{ 14\text{ d} }[/math] 以上不丢失。

E.1.4.5 控制装置运行数据存储单元所有接口在非使用状态下应配置有效的保护装置。

E.2 试验

E.2.1 将试样的任一组控制输出接上火灾声光警报器,任一报警回路接入两只监测报警装置和一个手动火灾报警按钮,其他回路(或报警部位)可分别接上等效负载,接通电源使试样处于正常监视状态和联网状态。

E.2.2 使监测报警装置发出火灾报警信号,确认试样报警后,复位试样,使试样处于正常监视状态。

E.2.3 使监测报警装置发出气体报警信号,确认试样报警后,复位试样,使试样处于正常监视状态。

E.2.4 手动操作试样,进行关机、开机、复位、检查和时钟调整操作。

E.2.5 手动操作试样,使试样处于故障状态。

E.2.6 使运行数据存储单元与试样分离,观察并记录数据存储单元的输出接口、授权管理情况,以及对下列信息的导出和回放情况:

a)试样的火灾报警信息、气体报警信息、监管信息、故障信息、手动/自动状态信息等消防设备运行状态信息;

b)试样的启动信息、反馈信息、故障信息、手动/自动状态信息等消防设备运行状态信息;

c)试样的开、关机和复位、检查、时钟调整的操作信息。

E.2.7 反向接通运行数据存储单元电源,调整工作电压为标称工作电压的 [math]\displaystyle{ 120\% }[/math] ,持续 [math]\displaystyle{ 1\text{ min} }[/math] ;切断电源,使数据存储单元与试样连接,重复 E.2.1~E.2.5 的操作。

E.2.8 切断试样电源,观察并记录数据存储单元保护状态情况;14d后,观察并记录数据存储单元信息的存储、导出和回放情况。

E.3 设备类型代码

设备类型代码,占2字节空间,数据类型为uint。GB4717-2024中定义的设备类型代码亦适用于本文件。

表 E.5 设备类型代码

类型代码 说明
0 预留
256 控制装置
257 监测报警装置回路
258 灭火回路
259 监测报警装置与灭火复合回路
260 监测报警装置
261 YJA型监测报警装置
262 JCA型监测报警装置
263 JCB型监测报警装置
264 JCC型监测报警装置
265 JCD型监测报警装置
266 JCE型监测报警装置
267 JCF型监测报警装置
268 JCG型监测报警装置
269 JCH型监测报警装置
270 JCI型监测报警装置
271~65 534 用户自定义
65 535 连接了多种设备

E.4 事件类型代码

事件类型代码,占2字节空间,数据类型为uint。

表 E.6 事件类型代码

状态代码 说明 事件类型
0 预留 预留
1 正常 一般事件
2 首火警 紧急事件
3 火警 紧急事件
4 气体低限报警 紧急事件
5 气体高限报警 紧急事件
6 气体超量程报警 紧急事件
7 确认报警信息 紧急事件
8 火警撤销 紧急事件
9 气体低限报警撤销 紧急事件
10 气体高限报警撤销 紧急事件
11 气体超量程报警撤销 紧急事件
12~18 预留 预留
19 启动 紧急事件
20 自动启动 紧急事件
21 手动启动 紧急事件
22 现场急启 紧急事件
23 联动启动 紧急事件
24 灭火开始延时 紧急事件
25 喷洒 紧急事件
26 反馈 紧急事件
27 喷洒反馈 紧急事件
28 反馈撤销 紧急事件
29 停止 紧急事件
30 现场急停 紧急事件
31~69 预留 预留
70 监管 紧急事件
71 监管解除 紧急事件
72~79 预留 预留
80 故障 一般事件
81 通信故障 一般事件
82 主电故障 一般事件
83 备电故障 一般事件
84 充电故障 一般事件
85 回路故障 紧急事件
86 部件故障 一般事件
87 线路故障 一般事件
88 接地故障 一般事件
89~99 预留 预留
100 故障恢复 一般事件
101 通信故障恢复 一般事件
102 主电故障恢复 一般事件
103 备电故障恢复 一般事件
104 充电故障恢复 一般事件
105 回路故障恢复 一般事件
106 部件故障恢复 一般事件
107 线路故障恢复 一般事件
108 接地故障恢复 一般事件
109~119 预留 预留
120 开机 一般事件
121 关机 一般事件
122 复位 紧急事件
123 自检 一般事件
124 自检失败 一般事件
125 手动状态 紧急事件
126 自动状态 紧急事件
127 消音 一般事件
128 信息确认控制按钮动作 一般事件
129 检查功能按钮动作 一般事件
130 联动启动按钮动作 紧急事件
131 调整时钟 一般事件
132~255 预留 预留
256~65 535 用户自定义 用户自定义

E.5 机器及设备状态定义

机器及设备状态定义,占2字节空间,数据类型为bit。

表 E.7 机器及设备状态定义

位(Bit) 说明
0 0—手动状态;1—自动状态
1 0—主电工作;1—备电工作
2 0—电源正常;1—电源故障
3 0—无火灾报警;1—有火灾报警
4 0—无气体预警;1—有气体预警
5 0—无启动;1—有启动
6 0—无反馈;1—有反馈
7 0—无监管;1—有监管
8 0—无故障;1—有故障
9 0—无喷洒;1—有喷洒
10 预留
11 预留
12 预留
13 预留
14 预留
15 预留

附录F

(规范性)

阈值检验烟箱

F.1 试验设备

F.1.1 测量区、试验仪器及非吸气式监测报警装置的布置见图 F.1 和图 F.2。

F.1.2 在测量工作区适当位置开孔,连接吸气式监测报警装置气体采样管路。

文件:Bacff15f8338e86bb941a039b9f51e82bbd32a2c8e51e0d920af2af81f52fe8d.jpg
图F.1 测量区、试验仪器及监测报警装置的布置图

标引序号说明:

1——测量工作区;

2——测量平台;

3——监测报警装置;

4——温度传感器;

5 整流栅;

6——控制和指示设备连接处;

7——烟箱控制指示设备连接处;

8——气流;

9——光学密度计。

文件:382d9b8a287455d3227282c33bf1842885fc3923d846ccbb991ba7e6bea977c5.jpg
图F.2 测量区、试验仪器及监测报警装置的布置图

标引序号说明:

1——测量工作区;

2——测量平台;

3——监测报警装置;

4——温度传感器;

5——光学密度计;

6——光学密度计的反射器。

F.2 光学方法测量响应阈值

F.2.1 工作原理

监测报警装置的响应阈值,即用减光系数 [math]\displaystyle{ m }[/math] 值(单位为 [math]\displaystyle{ \text{dB/m} }[/math] )表示的监测报警装置报警时刻的烟浓度,用光学密度计测量。光学密度计利用光束受烟粒子作用后,光辐射能按指数规律衰减的原理测量烟浓度。

减光系数用公式(F.1)表示:

[math]\displaystyle{ m = (10 / d) \lg (P_0 / P) \quad \dots \text{ (F.1)} }[/math]

式中:

[math]\displaystyle{ m }[/math] ——减光系数,单位为分贝每米 [math]\displaystyle{ (\text{dB/m}) }[/math]

[math]\displaystyle{ d }[/math] ——试验烟的光学测量长度,单位为米 [math]\displaystyle{ (\text{m}) }[/math]

[math]\displaystyle{ P_0 }[/math] ——无烟时接收的辐射功率,单位为瓦(W);

[math]\displaystyle{ P }[/math] ——有烟时接收的辐射功率,单位为瓦(W)。

F.2.2 技术要求

F.2.2.1 光学测量长度不大于 [math]\displaystyle{ 1.1\text{ m} }[/math]

F.2.2.2 光束应以红外光为主。

F.2.2.3 每次测量前,测量仪器的读数应清零。

F.3 试验烟

F.3.1 试验烟中烟粒子的粒径应分布在 [math]\displaystyle{ 0.5\,\mu\text{m} \sim 1.0\,\mu\text{m} }[/math] ,选用的试验烟应在所有项目试验过程中始终使用。

F.3.2 试验烟在粒径分布、粒径大小、粒径结构、光学特性等方面应有再现性和稳定性。

附录G

(规范性)

电池热失控报警性能试验设备和试验方法

G.1 试验条件

G.1.1 电池热失控报警试验箱体积为 [math]\displaystyle{ 400\text{ mm} \times 400\text{ mm} \times 1000\text{ mm} }[/math] ,试验箱内安装的试验装置(见图 G.1)应满足以下要求。

a)可调温加热盘的加热温度应满足以下要求:

1)加热温度不应小于 [math]\displaystyle{ 380\,^{\circ}\text{C} }[/math]

2)加热升温速率满足 [math]\displaystyle{ (20 \pm 3)\,^{\circ}\text{C/min} }[/math] 的升温速率的要求;

3)温度测量误差绝对值不大于 [math]\displaystyle{ 2\,^{\circ}\text{C} }[/math]

4)温度测量分辨率 [math]\displaystyle{ 0.1\,^{\circ}\text{C} }[/math]

b)一氧化碳监视器应满足以下要求:

1)测量范围满足 [math]\displaystyle{ (0 \sim 1000) \times 10^{-6} }[/math] (体积分数);

2)误差绝对值不大于测量范围的 [math]\displaystyle{ 10\% }[/math]

3)测量分辨率为 [math]\displaystyle{ 10 \times 10^{-6} }[/math]

c)光学烟密度计应满足以下要求:

1)减光率测量范围满足 [math]\displaystyle{ 0\% \sim 100.0\% }[/math]

2)误差绝对值不大于测量范围的 [math]\displaystyle{ 0.1\% }[/math]

3)测量分辨率为 [math]\displaystyle{ 0.01\% }[/math]

d)氢气监视器应满足以下要求:

1)测量范围满足 [math]\displaystyle{ (0 \sim 1000) \times 10^{-6} }[/math] (体积分数);

2)误差绝对值不大于测量范围的 [math]\displaystyle{ 10\% }[/math]

3)测量分辨率为 [math]\displaystyle{ 10 \times 10^{-6} }[/math]

G.1.2 试验采用锂电池,应满足以下要求:

a)采用18650型电池,额定容量为 [math]\displaystyle{ 1800\text{ mAh} \sim 2200\text{ mAh} }[/math]

b)为了达到G.5的测试条件,可添加多节18650型电池;

c)试验前,电池应充满电。

文件:30dabcff88c6e843f51851cc72cc2344cd94d1add4ab46a6b47262d6a630a78b.jpg
文件:10735d71d854cf4e9cc4c2d58b971d06f8127fdcf097f0eaa6b94a3546a8e669.jpg

标引序号说明:

1 ——电池热失控报警试验箱;

2 ——试验用单体电池;

3 ——可调温加热盘;

4 ——筛网;

5 ——测试工作区;

6 —监测报警装置试样;

7、8 ——氢气传感器、一氧化碳传感器;

9 ——摄像头;

10 ——光学烟密度计发射、接收装置;

11 ——光学烟密度计反射装置。

G.1.3 吸气式监测报警装置,将图G.1所示试验箱通过气体采样管路连接至电池箱簇,见图G.2。

文件:E66f4bf0aea57ef102ed356a89319de43652724a1e6703ec9a3d2d03384a7766.jpg
图G.1 非吸气式监测报警装置试验布置示意图
文件:3d63d51bbde151116e39b9e6e54b2d20297c5ef4738440c83fcf21fabac89f4b.jpg
图G.2 吸气式监测报警装置试验布置示意图

标引序号说明:

1——吸气式监测报警装置;

2——进气孔;

3—回气孔;

4——电池箱簇;

5——图G.1所示试验箱;

6——进气管路;

7——回气管路。

G.2 光学方法测量响应阈值

G.2.1 工作原理

光电探测器的响应阈值,即用减光系数 [math]\displaystyle{ m }[/math] 值(单位为 [math]\displaystyle{ \text{dB/m} }[/math] )表示的探测器报警时刻的烟浓度,用光学密度计测量。光学密度计利用光束受烟粒子作用后,光辐射能按指数规律衰减的原理测量烟浓度。

减光系数用公式(G.1)表示:

[math]\displaystyle{ m = (10 / d) \lg (P_0 / P) \quad \dots \text{ (G.1)} }[/math]

式中:

[math]\displaystyle{ m }[/math] ——减光系数,单位为分贝每米 [math]\displaystyle{ (\text{dB/m}) }[/math]

[math]\displaystyle{ d }[/math] ——试验烟的光学测量长度,单位为米 [math]\displaystyle{ (\text{m}) }[/math]

[math]\displaystyle{ P_0 }[/math] ——无烟时接收的辐射功率,单位为瓦(W);

[math]\displaystyle{ P }[/math] ——有烟时接收的辐射功率,单位为瓦(W)。

G.2.2 技术要求

G.2.2.1 光学测量长度不大于 [math]\displaystyle{ 1.1\text{ m} }[/math]

G.2.2.2 光束应以红外光为主。

G.2.2.3 每次测量前,测量仪器的读数应清零。

G.3 试验步骤

G.3.1 按照图 G.1 或 G.2 的布设要求, 安装监测报警装置试样, 试样的探测单元安装在试验箱内, 控制单元安装在试验箱外便于试验人员观察的区域, 使试样处于正常监视状态, 保持 [math]\displaystyle{ 5\text{ min} }[/math]

G.3.2 将单体电池置于图 G.1 所示的加热盘上。启动加热盘,以 [math]\displaystyle{ (20 \pm 3)\,^{\circ}\text{C/min} }[/math] 的升温速率,控制加热盘升温至 [math]\displaystyle{ 380\,^{\circ}\text{C} }[/math]

G.3.3 观察一氧化碳监视器、氢气监视器、光学烟密度计的数值,满足以下条件之一开始计时,记录试样发出报警信号的时间:

a)一氧化碳浓度达到 [math]\displaystyle{ 150 \times 10^{-6} }[/math] (体积分数);

b)氢气浓度达到 [math]\displaystyle{ 150 \times 10^{-6} }[/math] (体积分数);

c)光学烟密度计的 [math]\displaystyle{ m }[/math] 值达到 [math]\displaystyle{ 0.3\text{ dB/m} }[/math]

G.4 试验设备

应采用满足以下要求的试验设备:

a)满足G.1要求的电池热失控报警试验箱;

b)秒表。

G.5 要求及试验判定

G.5.1 试样的报警时间不应大于 [math]\displaystyle{ 5\text{ min} }[/math]

G.5.2 计时开始后 [math]\displaystyle{ 5\text{ min} }[/math] 内试验箱内监测数据满足以下要求的任一条, 为试验合格条件, 否则重新进行试验:

a)一氧化碳浓度达到 [math]\displaystyle{ 500 \times 10^{-6} }[/math] (体积分数);

b)氢气浓度达到 [math]\displaystyle{ 500 \times 10^{-6} }[/math] (体积分数);

c)光学烟密度计的减光率达到 [math]\displaystyle{ 8.00\text{ dB/m} }[/math]

附录H

(规范性)

电解液火灾灵敏度试验设备和试验方法

H.1 试验条件

H.1.1 燃料采用锂离子电池电解液,体积为 [math]\displaystyle{ 10\text{ mL} }[/math] ,配方如表 H.1。

表 H.1 电解液配方

成分 体积分数
碳酸乙烯酯 26.25%
碳酸二甲酯 26.25%
碳酸甲乙酯 35%
六氟磷酸锂 12.5%

H.1.2 火灾灵敏度试验箱尺寸为 [math]\displaystyle{ 400\text{ mm} \times 400\text{ mm} \times 1000\text{ mm} }[/math] ,试验箱内安装的试验装置(见图H.1)应满足以下要求。

a)应采用直径为 [math]\displaystyle{ 50\text{ mm} }[/math] 、高为 [math]\displaystyle{ 22\text{ mm} }[/math] 的金属容器,进行电解液燃烧试验。

b)应采用电火花或明火的点火方式。

c)一氧化碳监视器应满足以下要求:

1)测量范围满足 [math]\displaystyle{ (0\% \sim 1000) \times 10^{-6} }[/math] (体积分数);

2)误差绝对值不大于测量范围的 [math]\displaystyle{ 10\% }[/math]

3)测量分辨率为 [math]\displaystyle{ 10 \times 10^{-6} }[/math]

d)光学烟密度计应满足以下要求:

1)减光率测量范围满足 [math]\displaystyle{ 0\% \sim 100.0\% }[/math]

2)误差绝对值不大于测量范围的 [math]\displaystyle{ 0.1\% }[/math]

3)测量分辨率为 [math]\displaystyle{ 0.01\% }[/math]

e)氢气监视器应满足以下要求:

1)测量范围满足 [math]\displaystyle{ (0\% \sim 1000) \times 10^{-6} }[/math] (体积分数);

2)误差绝对值不大于测量范围的 [math]\displaystyle{ 10\% }[/math]

3)测量分辨率为 [math]\displaystyle{ 10 \times 10^{-6} }[/math]

文件:3cbaa92b6cce07f202df2a64f747423e822da8b32ff4216a0fefbc6ec3c3e380.jpg
文件:Acb48f731449141cc778ac5b54b1fa251f26778e0480341cb56e2bc9b337ec5a.jpg

标引序号说明:

1 ——电池热失控报警试验箱;

2 ——点火器;

3 ——燃烧盘;

4 ——筛网;

5 ——测试工作区;

6 —监测报警装置试样;

7、8 ——氢气传感器、一氧化碳传感器;

9 ——摄像头;

10 ——光学烟密度计发射、接收装置;

11 ——光学烟密度计反射装置。

H.1.3 吸气式监测报警装置,将图 H.1 所示的试验箱通过气体采样管路连接至电池箱簇,见图 H.2。

文件:38d828f312efb2c6929ed66edd5892fabe03cfce03bf73718472c602beae5625.jpg
图H.1 非吸气式监测报警装置试验布置示意图
文件:053978bcf81a2da2125e0d88966f92130533e3becf54f4b1a6f1ac15447e5e78.jpg
图H.2 吸气式监测报警装置试验布置示意图

标引序号说明:

1—吸气式监测报警装置;

2——进气孔;

3—回气孔;

4—电池箱簇;

5——图H.1所示试验箱;

6——进气管路;

7——回气管路。

H.2 试验判据

H.2.1 光学烟密度 [math]\displaystyle{ m }[/math] 值达到 [math]\displaystyle{ 11.65\text{ dB/m} }[/math] ,或者所有监测报警装置发出火灾报警信号。

H.2.2 光学烟密度 [math]\displaystyle{ m }[/math] 值与试验时间的比值关系应在图 H.3 的实线范围内;一氧化碳浓度值与试验时间的比值关系应在图 H.4 的实线范围内;氢气浓度值与试验时间的比值关系应在图 H.5 的实线范围内。

文件:34c0e5122d5192342eaa43b1cbde89d0f4171d9953f24d21596008bdbfd1910b.jpg
图H.3 m值与试验时间的比值
文件:Dee174f7d937a82e142c5322055e681a82ed280b6b1ff6c2dceb03da8fbc848d.jpg
图H.4 一氧化碳气体浓度与试验时间的比值
文件:057b300c9c0ab88c90f73aa10277b269dd0f9046402f46f6d08624c59b0cc388.jpg
图H.5 氢气气体浓度与试验时间的比值

附录I

(规范性)

气体测试试验设备和试验方法

I.1 试验设备

I.1.1 监测报警装置气体测试高低温、湿热试验箱示意图见图I.1。

文件:3b418dd5cf94c17764a57269b5ba76d871a317b414a35d90279141d75f7b700a.jpg
图I.1 气体测试高低温、湿热试验箱

标引序号说明:

1 —风筒;

2 —涡流机;

3、4 ——电机;

5 导流板;

6 ——整流栅;

7 —进风门;

8 —排气门;

9 ——蒸发器;

10 加热器;

11 —监测报警装置;

12 ——气体入口;

13 ——气体分析仪;

14 ——温湿度测量仪;

15 —风速计;

16 —加湿门。

I.1.2 气体测试高低温、湿热试验箱各部件应具备如下技术参数:

a)通风机:风速范围 [math]\displaystyle{ 0\text{ m/s} \sim 6.5\text{ m/s} }[/math] 连续可调;

b)加热器:温度范围 [math]\displaystyle{ 35\,^{\circ}\text{C} \sim 75\,^{\circ}\text{C} }[/math] 连续可调,升温速率小于或等于 [math]\displaystyle{ 1\,^{\circ}\text{C/min} }[/math]

c)加湿器:相对湿度范围 [math]\displaystyle{ 90\% \sim 96\% }[/math] 连续可调,加湿速率小于或等于 [math]\displaystyle{ 5\%/\text{min} }[/math]

d)蒸发器:温度范围 [math]\displaystyle{ 0\,^{\circ}\text{C} \sim -40\,^{\circ}\text{C} }[/math] 连续可调,降温速率小于或等于 [math]\displaystyle{ 1\,^{\circ}\text{C/min} }[/math]

e)温度测量仪:误差不超过 [math]\displaystyle{ \pm 1\,^{\circ}\text{C} }[/math] ,分辨率小于或等于 [math]\displaystyle{ 0.1\,^{\circ}\text{C} }[/math]

f)湿度测量仪:相对湿度误差不超过 [math]\displaystyle{ \pm 1\% }[/math]

I.2 使用液态试剂进行抗中毒性能的试验方法

I.2.1 在进行抗中毒性能试验时,如使用的试验物质为常温常压条件下的液态物质,应采用在密闭试验箱中加热蒸发定量试剂的方式产生相应峰值浓度的干扰物质。

I.2.2 如图 I.2 所示, 试验前将试样和蒸发皿置于体积为 [math]\displaystyle{ 100\text{ L} }[/math] 的试验箱内, 以六甲基二硅醚为干扰物质, 向蒸发皿中注入 [math]\displaystyle{ 10\,\mu\text{L} }[/math] 的六甲基二硅醚试剂。

1.2.3 试验开始时,试样处于正常监视状态,试验期间试验箱应保持密闭。加热蒸发皿并开始计时,试剂应在 [math]\displaystyle{ 300\text{ s} }[/math] 内完全蒸发,且加热期间试验箱内不应有火焰、火花或电加热器等可能点燃、消耗试验物质的条件。

I.2.4 试验设备应包括:微量注射器,计时器、带观察窗的密闭试验箱、蒸发皿。

文件:8334afdf3ca715e6629b4c2d092244a4af5358e4a378b1d48ba3d7560258ce66.jpg
图1.2 抗中毒性能试验布置示意图

附录J

(规范性)

标准温箱

检验监测报警装置响应时间的试验设备是专用的标准温箱。温箱的风道截面为正方形,并有一个水平工作区域,如图J.1所示,监测报警装置安装在风道工作区域的顶板上,并使它与风道的两个侧壁对称。

风道中的气流流速在试验过程中应始终为 [math]\displaystyle{ 0.8\text{ m/s} \pm 0.1\text{ m/s} (25\,^{\circ}\text{C} }[/math] 时测量值),并能分别以 [math]\displaystyle{ 0.2\,^{\circ}\text{C/min}, 1\,^{\circ}\text{C/min}, 3\,^{\circ}\text{C/min}, 5\,^{\circ}\text{C/min}, 10\,^{\circ}\text{C/min}, 20\,^{\circ}\text{C/min}, 30\,^{\circ}\text{C/min} }[/math] 的升温速率升温;测温误差为 [math]\displaystyle{ \pm 2\,^{\circ}\text{C} }[/math] ,响应时间测量误差 [math]\displaystyle{ \pm 1\text{ s} }[/math] 。试验中应保证监测报警装置附近的气流不受风道底面和侧壁的影响,监测报警装置不应受到加热器的直接热辐射作用。

测温元件距离风道工作区域风道顶板应大于 [math]\displaystyle{ 25\text{ mm} }[/math] ,并且测温元件在水平方向上位于监测报警装置的迎风侧距监测报警装置至少 [math]\displaystyle{ 50\text{ mm} }[/math]

文件:37e8d08e286b942cc9824c27d7710d7c74138222c7dad38beb406bcfc3252c05.jpg
图J.1 标准温箱工作区域示意图
文件:F09ea62aa5b3d2be9ae095f742a62c38ace8f4f8d6378172e666bfae207f2984.jpg
A - A

标引序号说明:

1——工作区;

2——安装板;

3——监测报警装置;

4——测温传感器;

5——导流装置;

6——气流方向。

附录K

(规范性)

压力监测性能试验装置

检验监测报警装置的压力监测性能的试验设备是压力试验箱。试验箱为直径 [math]\displaystyle{ 400\text{ mm} }[/math] 、高 [math]\displaystyle{ 240\text{ mm} }[/math] 的密封桶,如图K.1所示。桶内有压力测量装置和抽气孔。试验时,采用真空泵抽取密封桶内的空气,改变压力进行测试。

图K.1 压力监测性能试验装置工作区域示意图

文件:F956dd445be8180884cf1128dd7aeb08bd36ac76af4cf1353ad66abc3a6f7ded.jpg

标引序号说明:

1——监测报警装置试样;

2——压力试验箱体;

3——压力测量装置;

4——抽气孔;

5——真空泵;

6——压力控制系统。