J-ZFJC-E5W-17Z3A 集电一体条管灯

参考资料
文件:J-ZFJC-E5W-17Z3A集中电源消防应急照明灯具说明书A4 1722328678511.pdf
检验报告
文件:J-ZFJC-E5W-17Z3A 检验报告.pdf ID615.pdf
认证证书
文件:J-ZFJC-E5W-17Z3A 认证证书.pdf ID615.pdf
高清图片
一、灯具特点及注意事项
本灯具设计满足GB 17945-2010《消防应急照明和疏散指示系统》要求。本灯具为专用灯具,采用低电压供电,严禁接入AC220V/DC216V强电,接入强电将造成灯具损毁。
- 防护等级IP65,防护方式采用外壳防护、封胶方式
- 远程指令控制、亮灯、灭灯功能
- 高光效LED光源,能耗极低,恒流驱动,发光稳定
- 带独立地址编间,完备的自动检测功能
二、技术参数
1、额定电压: DC24V 或 DC36Y
2、主电功耗: 5W
3、安装方式: 吸顶
4、防护等级: IP65
5、应急时间: 90min
6、工作方式: 非持续型
7、亮度: ≥50lm
8、光源类型: LED
9、光源参数: DC2.8V-DC3.4V,0.5W
三、灯具外形和尺寸(单位:mm)
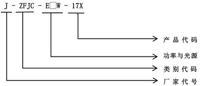
四、型号说明
五、工作原理
六、使用说明
该灯具受集中控制系统控制,灯具可接收由系统发来的指令改变灯具的工作状态,同时系统可对灯具的各状态进行监视。
本系列应急灯具必须和我公司配套的消防应急专用电源配合使用;不可独立使用。
七、灯具地址
1、出厂地址:我司灯具出厂前已写入出厂地址,地址码见灯具二维码标签(8 位)
2、编码地址:需现场编址,使用编码器编入 1-999(详细操作请参考JBF 编码器说明书)
按实际需求记录出厂地址或编码地址,并记录在施工图纸所对应指定位置,并将整理好的施工图纸妥善存档,用于后期的系统调试。
注: 1.禁止安装未记录地址码的灯具;
2.灯具的编码操作需要与我司配套产品使用;
3.使用编码器编址时,同一电源下,灯具编址不可重复。
八、接线及安装说明
将灯具两个电源线分别接入智能疏散专用两线系统,确保线路连接牢固工整接线示如下:
安装说明:
- 严格按照设计图纸在指定安装位置安装,严格按照灯具孔距打孔。
- 依照上图接线示意,将灯具引出线与电源线连接好,安装固定牢靠。
九、运输与贮存
- 灯具为易碎物品在运输过程中应平稳、牢固,避免因行车时碰撞损坏产品及包装,装卸时应轻抬轻放,不能磕、摔、撬;
- 灯具贮存时,均应放置于干燥、通风的地方,避免与有腐蚀性的物质接触并有必要的防潮、防晒、防震、防腐等措施。
十、维修保养和常见问题
本产品为消防产品,应由受过培训的专业人员进行安装、调试和维修;灯具应安装或贮存于通风、干燥、无腐蚀环境的地方,以免内部元器件受潮。应尽量避免灯具受到摩擦、敲击和冲击,以防止外壳产生变形、破损等损坏现象。
| 常见问题 | 解决方法 |
|---|---|
| 控制器显示灯具通讯故障 | 确保灯具安装方向、灯具接线、控制器系统中 的10号码正确 |
| 光源的更换方法 | 光源故障或损坏,联系专业维修工作人员进行 更换 |
十一、安全使用注意事项
- 使用前,请您务必详细阅读此说明书,方可接通电源。
- 本产品必须由具有专业资格的人员进行安装、调试和维修作业。保内保外维修,均可以联系我公司售后服务部门,用户不要自行拆开或维修,以防发生意外。
- 安装设备前,请务必切断回路电源,电线接头需做防水、绝缘处理。
- 本系列消防应急照明灯具防护等级为IP65,灯具内部已进行密封处理;请按照实际使用环境选择相匹配IP防护等级的产品;安装环境不匹配导致的产品性能问题,本公司不负任何责任。
- 如果您对安装或使用还有疑问,请向销售商咨询。